Запчасти Komatsu PC450LC-8 ГУСЕНИЧНАЯ РАМА (РЕГУЛЯТОР) (РАМА)(№7-) ХОДОВАЯ

Схема запчастей Komatsu PC450LC-8 - ГУСЕНИЧНАЯ РАМА (РЕГУЛЯТОР) (РАМА)(№7-) ХОДОВАЯ
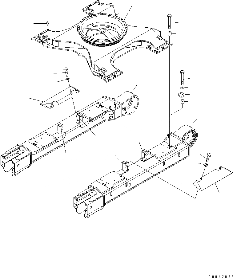
1
2
3
4
5
6
7
8
8
9
9
10
10
11
12
13
14
15
16
17
FIT
1:1
100%

Артикул

Название

Примечание

Количество

1

208-30-75114

FRAME

2

208-30-75122

FRAME

3

208-30-75E11

BRACKET (WELDED)

4

208-30-75E21

BRACKET (WELDED)

5

208-30-75132

FRAME

6

208-30-75E11

BRACKET (WELDED)

7

208-30-75E21

BRACKET (WELDED)

8

208-30-75582

PLATE

9

01010-81225

BOLT

10

01643-31232

WASHER

11

208-30-75390

COLLAR

12

208-30-12130

BOLT

13

208-30-12160

PLATE

14

208-30-31650

COLLAR

15

01011-63030

BOLT

16

01643-33080

WASHER

17

07049-03949

PLUG

Выбрано товаров: 17