Качественные детали и логистика
Оригинальные и аналоговые запчасти с доставкой по России, Казахстану и Беларуси
©2022 PartSell ООО "Система" ИНН 2463123282 ОГРН 1212400004838
Центральный офис: г. Красноярск, Академика Киренского, д.87, пом.4
Телефон: 8 (800) 777-65-74 Email: zakaz@partsell.ru
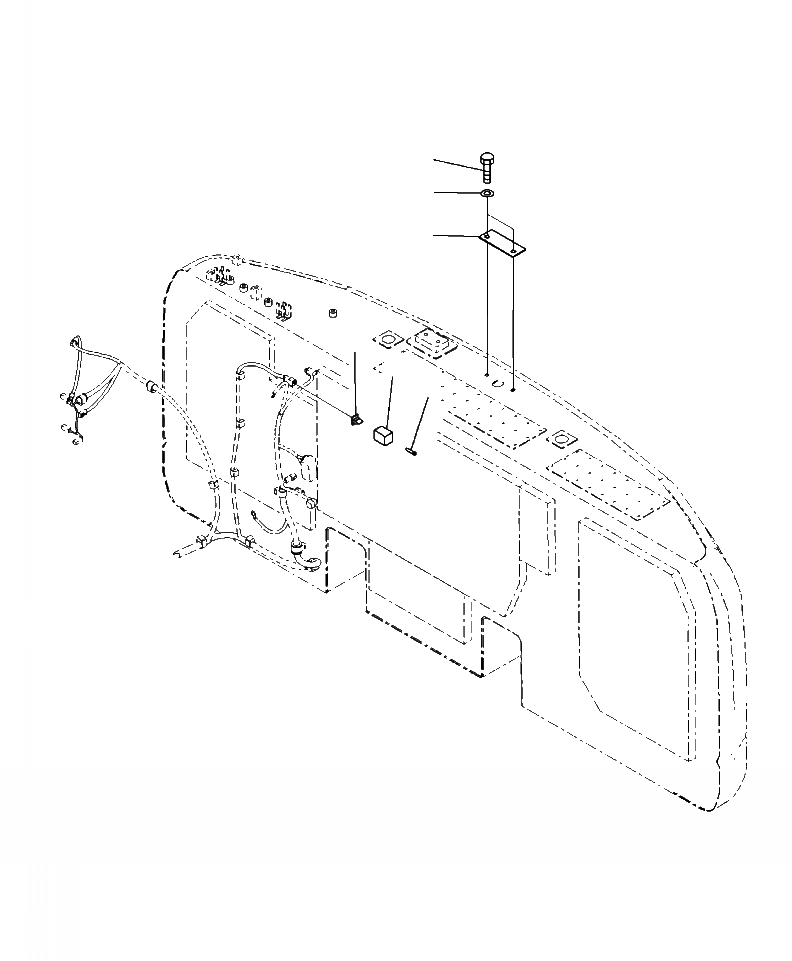
E-A CAMERA LESS THE ЗАДН. МОНИТОРING СИСТЕМА
№
Артикул
Название
Примечание
Количество
1
08192-24200
CONNECTOR
2
08192-14400
WEDGE
3
08191-00770
PLUG
4
207-06-76270
PLATE
5
01010-81220
BOLT
6
01643-31232
WASHER
Выбрано товаров: 0