Запчасти Komatsu PC450LC-8 K-A КАБИНА ПОЛ Э/ПРОВОДКА OPERATOR\XD S ОБСТАНОВКА И СИСТЕМА УПРАВЛЕНИЯ

Схема запчастей Komatsu PC450LC-8 - K-A КАБИНА ПОЛ Э/ПРОВОДКА OPERATOR\XD S ОБСТАНОВКА И СИСТЕМА УПРАВЛЕНИЯ
7
1
14
2
13
12
11
11
10
10
27
1
28
26
15
17
18
5
4
9
4
6
5
4
19
4
8
16
5
22
5
4
20
23
6
4
3
5
24
21
25
FIT
1:1
100%

Артикул

Название

Примечание

Количество

1

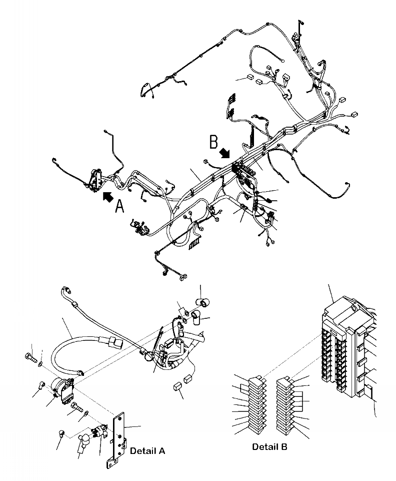
208-06-76512

WIRING HARNESS

2

08020-20000

DIODE

3

08041-00500

FUSE, 5 A

4

08041-01000

FUSE, 10 A

5

08041-02000

FUSE, 20 A

6

08041-03000

FUSE, 30 A

7

19M-06-31720

RESISTOR

8

20Y-06-31660

FUSIBLE LINK, 30 A

9

22U-06-11270

FUSIBLE LINK, 65 A

10

HM6400-0012

F-CONNECTOR, BLACK

|$10

HM6409-0071

M-CONNECTOR, BLACK

11

HM6400-0013

F-CONNECTOR, GREEN

|$12

HM6409-0072

M-CONNECTOR, GREEN

12

HM6440-0129

F-CONNECTOR, PINK

|$14

HM6440-0128

M-CONNECTOR, PINK

13

HM6400-0016

F-CONNECTOR, ORANGE

|$16

HM6409-0075

M-CONNECTOR, ORANGE

14

208-06-75130

CABLE

15

08038-00035

CAP

16

08088-30000

SWITCH, RELAY

17

01010-80830

BOLT

18

01643-30823

WASHER

19

08038-00519

CAP

20

207-06-75122

BRACKET

21

600-815-2170

SWITCH, HEATER

22

01010-80616

BOLT

23

01643-30623

WASHER

24

08038-00519

CAP

25

08038-02027

CAP

26

08028-CD065

CABLE

27

08038-00035

CAP

28

01643-30823

WASHER

Выбрано товаров: 32