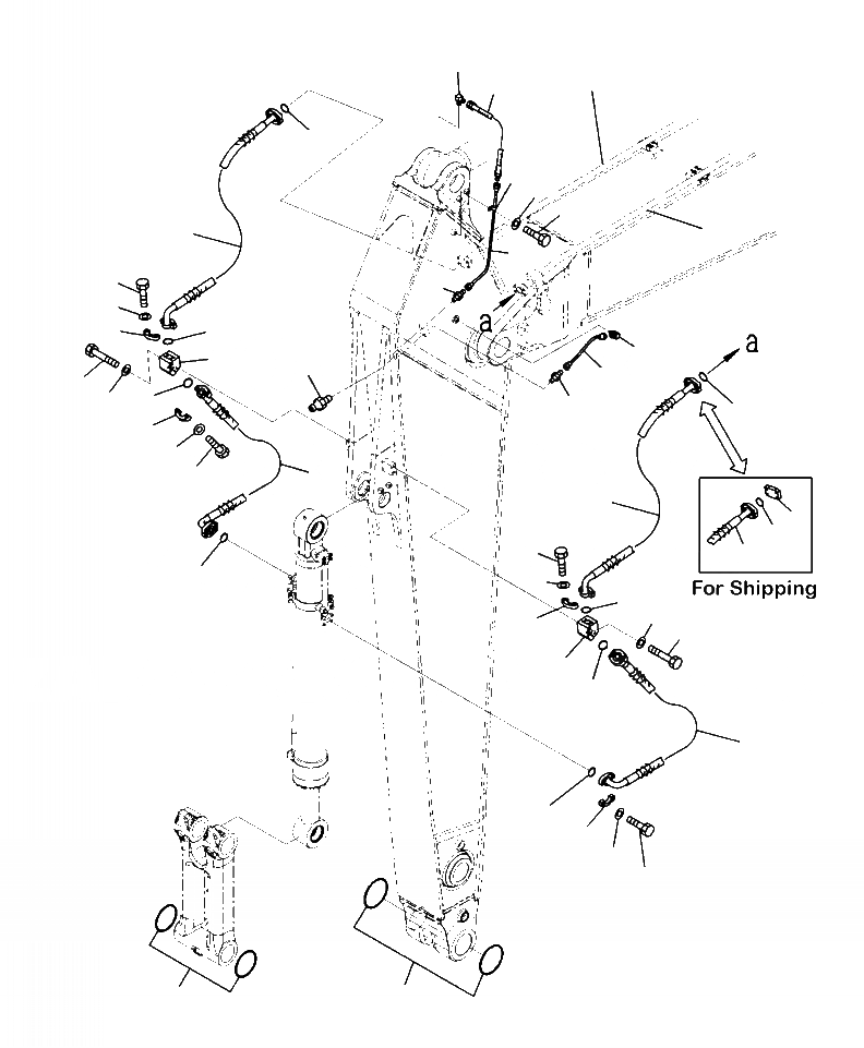
Запчасти Komatsu PC450LC-8 T-A РУКОЯТЬ . M ПАТРУБКИ ЦИЛИНДРА КОВША И СИСТЕМА СМАЗКИ РАБОЧЕЕ ОБОРУДОВАНИЕ

Схема запчастей Komatsu PC450LC-8 - T-A РУКОЯТЬ . M ПАТРУБКИ ЦИЛИНДРА КОВША И СИСТЕМА СМАЗКИ РАБОЧЕЕ ОБОРУДОВАНИЕ
16
27
15
2
12
14
13
1
28
10
4
5
3
2
11
17
8
9
18
21
19
7
2
22
24
20
23
1
6
2
4
1
21
5
7
2
19
3
18
17
21
20
21
22
24
23
25
26
FIT
1:1
100%

Артикул

Название

Примечание

Количество

1

207-62-54680

HOSE

2

07000-13032

O-RING

3

07371-31049

FLANGE

4

07372-21035

BOLT

5

01643-51032

WASHER

6

07379-01044

FLANGE

7

20Y-70-11540

CONNECTOR

8

07020-00000

FITTING

9

208-70-62161

TUBE

10

208-70-62171

TUBE

11

20Y-25-11270

ELBOW

12

04434-50812

CLIP

13

01010-81220

BOLT

14

01643-31232

WASHER

15

208-70-65770

HOSE, 540 MM

16

205-70-51380

ELBOW

17

207-943-5120

ELBOW

18

01010-81290

BOLT

19

01643-31232

WASHER

20

207-943-5130

HOSE, 800 MM

21

07000-13032

O-RING

22

07371-31049

FLANGE

23

07372-21035

BOLT

24

01643-51032

WASHER

25

208-70-33181

O-RING

26

207-70-33181

O-RING

Выбрано товаров: 26