Запчасти Komatsu PC450LC-8 СОЛЕНОИДНЫЙ КЛАПАН (КЛАПАН) H ГИДРАВЛИКА

Схема запчастей Komatsu PC450LC-8 - СОЛЕНОИДНЫЙ КЛАПАН (КЛАПАН) H ГИДРАВЛИКА
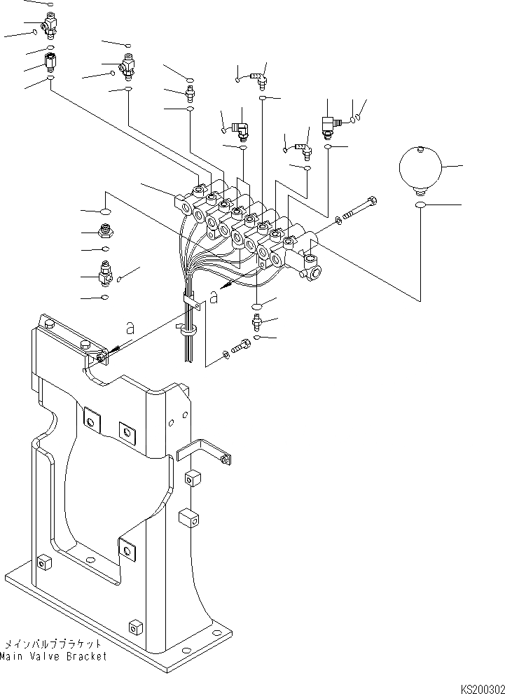
17
16
17
18
15
18
14
13
14
18
12
11
18
18
10
9
8
7
18
6
18
5
2
4
3
18
27
28
21
19
20
25
23
1
22
26
24
25
FIT
1:1
100%

Артикул

Название

Примечание

Количество

1

207-60-71320

VALVE ASSEMBLY

2

20Y-62-22271

ELBOW

3

201-60-11390

O-RING

4

20Y-62-19560

O-RING

5

208-62-71750

ELBOW

6

02896-11008

O-RING

7

02783-10210

ELBOW

8

02896-11008

O-RING

9

21W-62-42490

ELBOW

10

02896-11009

O-RING

11

11Y-62-12130

NIPPLE

12

02896-11008

O-RING

13

11Y-62-12330

ELBOW

14

02896-11008

O-RING

15

21M-62-16350

ADAPTER

16

11Y-62-12330

ELBOW

17

02896-11008

O-RING

18

07002-11423

O-RING

19

02781-00422

UNION

20

02896-11012

O-RING

21

07002-12034

O-RING

22

20Y-62-21940

FILTER ASSEMBLY

23

07002-12034

O-RING

24

21N-64-36680

TEE

25

02896-11009

O-RING

26

07002-11423

O-RING

27

22U-60-21330

ACCUMULATOR

28

07002-12034

O-RING

Выбрано товаров: 28