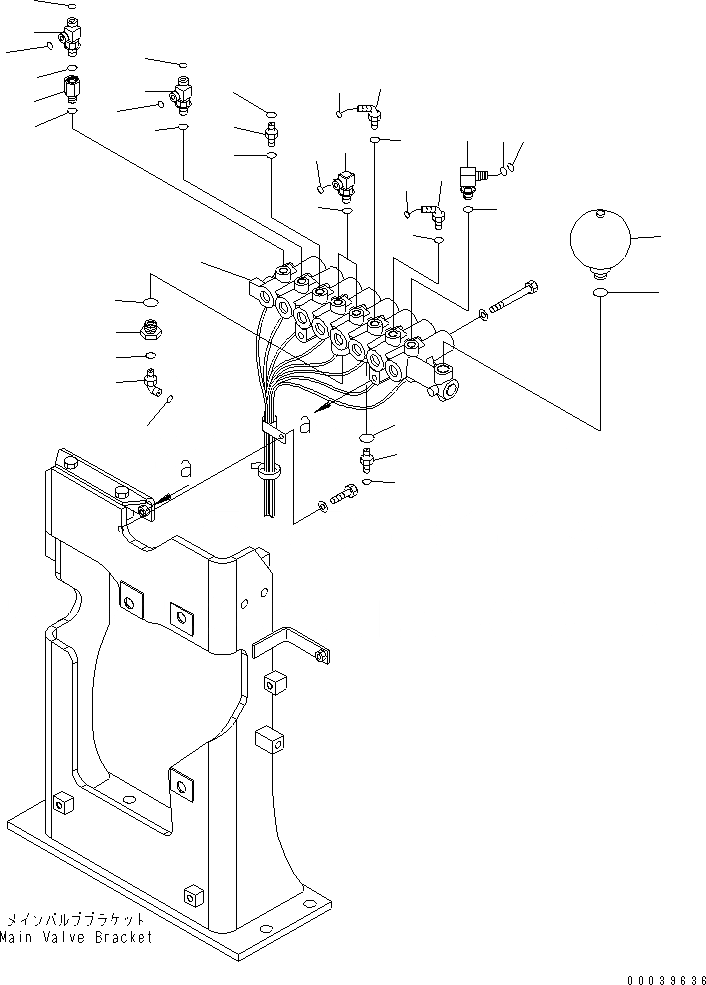
Запчасти Komatsu PC450LC-8K HIGH REACH DEMOLITION СОЛЕНОИДНЫЙ КЛАПАН (КЛАПАН) TABLE OF CONTENTS PC-8 ВЫС. REACH РАЗРУШ. ЗДАНИЙ

Схема запчастей Komatsu PC450LC-8K HIGH REACH DEMOLITION - СОЛЕНОИДНЫЙ КЛАПАН (КЛАПАН) TABLE OF CONTENTS PC-8 ВЫС. REACH РАЗРУШ. ЗДАНИЙ
27
28
3
4
2
5
6
18
18
18
7
8
9
10
18
1
18
11
12
18
14
13
14
18
15
18
17
16
23
22
26
24
25
21
19
20
17
FIT
1:1
100%

Артикул

Название

Примечание

Количество

1

207-60-71320

VALVE ASSEMBLY

2

21W-62-42490

ELBOW

3

20Y-60-31240

O-RING

4

20Y-60-31250

O-RING

5

208-62-71750

ELBOW

6

02896-11008

O-RING

7

02783-10210

ELBOW

8

02896-11008

O-RING

9

207-62-61680

TEE

10

02896-11009

O-RING

11

11Y-62-12130

NIPPLE

12

02896-11008

O-RING

13

11Y-62-12330

TEE

14

02896-11008

O-RING

15

21M-62-16350

ADAPTER

16

11Y-62-12330

TEE

17

02896-11008

O-RING

18

07002-11423

O-RING

19

02781-00422

UNION

20

02896-11012

O-RING

21

07002-12034

O-RING

22

20Y-62-21940

FILTER ASSEMBLY

23

07002-12034

O-RING

24

21W-62-42490

ELBOW

25

02896-11009

O-RING

26

07002-11423

O-RING

27

22U-60-21330

ACCUMULATOR

28

07002-12034

O-RING

Выбрано товаров: 28