Запчасти Komatsu PC450LC-8R ПОВОРОТН. КРУГ (№7-) ПОВОРОТН. КРУГ

Схема запчастей Komatsu PC450LC-8R - ПОВОРОТН. КРУГ (№7-) ПОВОРОТН. КРУГ
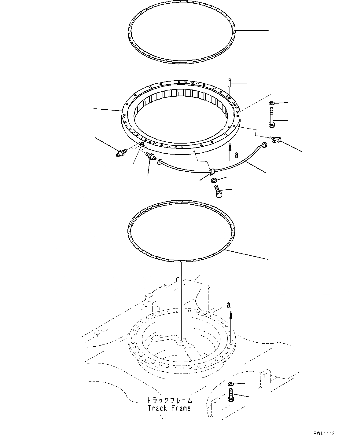
1
2
3
4
5
6
7
8
9
12
14
15
10
13
2
11
FIT
1:1
100%

Артикул

Название

Примечание

Количество

1

208-25-61100

Swing Circle Assembly

2

207-25-61160

Seal

3

205-25-71280

Nipple

4

207-25-31180

Bolt

5

01643-72460

Washer

6

04020-01842

Pin, Dowel

7

208-25-62110

Tube

8

20Y-25-11270

Elbow

9

07020-00000

Fitting, Grease

10

07214-50813

Connector

11

08036-00814

Clip

12

01010-81020

Bolt

13

01643-31032

Washer

14

208-25-71230

Bolt

15

01643-72780

Washer, Flat

Выбрано товаров: 15