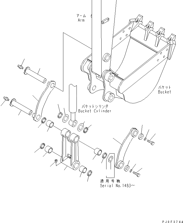
Запчасти Komatsu PC45MR-1 СОЕДИНЕНИЕ КОВША РАБОЧЕЕ ОБОРУДОВАНИЕ

Схема запчастей Komatsu PC45MR-1 - СОЕДИНЕНИЕ КОВША РАБОЧЕЕ ОБОРУДОВАНИЕ
1
2
2
3
3
4
4
4
4
4
4
5
6
7
8
8
9
9
10
10
11
11
12
12
13
13
14
FIT
1:1
100%

Артикул

Название

Примечание

Количество

|1

22N-70-00040

LINK ASS'Y

1

22N-70-11410

LINK

2

20T-70-25740

BUSHING

3

20T-70-71880

BUSHING

4

07145-00045

SEAL,DUST

5

07043-70108

PLUG,GREASE

6

22N-70-11550

LINK,L.H.

7

22N-70-11561

LINK,R.H.

|7

22N-70-11560

LINK,R.H.

8

20T-70-71452

PIN

|8

20T-70-71451

PIN

9

07020-00000

FITTING,GREASE

10

20T-70-71270

PLATE

11

01010-82045

BOLT

12

01643-32060

WASHER

13

20U-70-21780

SHIM¤ 2.5MM

14

20T-70-81710

SPACER¤ 1.0MM

Выбрано товаров: 17