Запчасти Komatsu PC45MR-1 ЦИЛИНДР ПОВОРОТА СТРЕЛЫ (ВНУТР. ЧАСТИ)(№-) ОСНОВН. КОМПОНЕНТЫ И РЕМКОМПЛЕКТЫ

Схема запчастей Komatsu PC45MR-1 - ЦИЛИНДР ПОВОРОТА СТРЕЛЫ (ВНУТР. ЧАСТИ)(№-) ОСНОВН. КОМПОНЕНТЫ И РЕМКОМПЛЕКТЫ
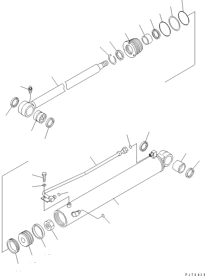
1
2
3
3
3A
3A
4
5
6
7
8
9
10
11
12
13
14
14
15
16
17
18
19
20
21
22
23
FIT
1:1
100%

Артикул

Название

Примечание

Количество

G1

707-00-XC570

SWING CYLINDER GROUP

|G1

707-00-XC650

SWING CYLINDER GROUP,(NATURAL YELLOW)

|1

707-00-0C570

CYLINDER ASS'Y,BOOM SWING

1

707-11-95250

CYLINDER

2

07144-10505

BUSHING

3

07145-00050

SEAL,DUST (KIT)

3A

02896-11009

O-RING (KIT)

4

707-29-95720

HEAD,CYLINDER

5

07177-05030

BUSHING

6

707-51-50211

PACKING,ROD (KIT)

7

176-63-92240

SEAL,DUST (KIT)

8

07179-12062

RING,SNAP

9

07000-12090

O-RING (KIT)

10

707-35-52780

RING,BACK-UP (KIT)

11

07000-12095

O-RING (KIT)

12

22N-63-86121

ROD,PISTON

13

20T-870-1290

BUSHING

14

07145-00050

SEAL,DUST (KIT)

15

07020-00675

FITTING,GREASE

16

707-36-95170

PISTON

17

707-44-95180

RING,PISTON (KIT)

18

707-39-95110

RING,WEAR (KIT)

19

707-67-36010

NUT

20

707-86-39010

TUBE

21

02896-11009

O-RING (KIT)

22

01010-81020

BOLT

23

01643-31032

WASHER

K

707-98-29620

SERVICE KIT,SWING CYLINDER

Выбрано товаров: 28