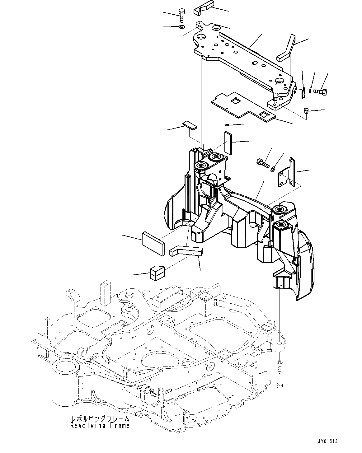
Запчасти Komatsu PC45MR-3 ПРОТИВОВЕС, ДЛЯ СЕВ. АМЕРИКИ, ПРОТИВОВЕС И КОМПОНЕНТЫ (№-) ПРОТИВОВЕС, ДЛЯ СЕВ. АМЕРИКИ

Схема запчастей Komatsu PC45MR-3 - ПРОТИВОВЕС, ДЛЯ СЕВ. АМЕРИКИ, ПРОТИВОВЕС И КОМПОНЕНТЫ (№-) ПРОТИВОВЕС, ДЛЯ СЕВ. АМЕРИКИ
16
15
14
12
11
10
17
13
18
20
19
3
2
9
8
7
1
6
5
4
FIT
1:1
100%

Артикул

Название

Примечание

Количество

1

22M-46-31512

Counterweight

2

22M-46-31520

Sheet

3

22M-46-31530

Sheet

4

22M-46-31560

Sheet

5

22M-46-31570

Sheet

6

22M-46-31580

Sheet

7

22M-54-32140

Bracket

8

01010-81225

Bolt

9

01643-31232

Washer

|$9

22M-54-31800

Bracket Assembly

10

22M-54-31821

Bracket

11

22M-46-37230

Sheet

12

22M-54-31840

Sheet

13

22M-54-31850

Sheet

14

22F-54-11380

Washer

15

01010-82475

Bolt

16

01643-32460

Washer

17

07049-02734

Plug

18

22M-54-32150

Bracket

19

01010-81020

Bolt

20

01643-31032

Washer

Выбрано товаров: 21