Качественные детали и логистика
Оригинальные и аналоговые запчасти с доставкой по России, Казахстану и Беларуси
©2022 PartSell ООО "Система" ИНН 2463123282 ОГРН 1212400004838
Центральный офис: г. Красноярск, Академика Киренского, д.87, пом.4
Телефон: 8 (800) 777-65-74 Email: zakaz@partsell.ru
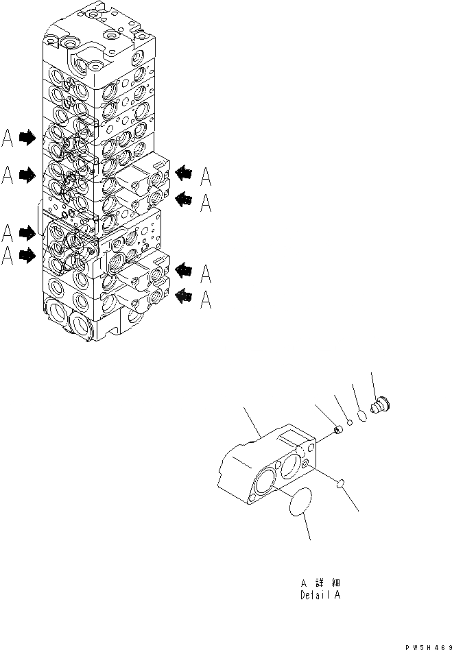
ОСНОВН. КЛАПАН (-КЛАПАН) (/) (ДЛЯ НАВЕСН. ОБОРУД.)(№-)
№
Артикул
Название
Примечание
Количество
|$1
723-1A-13301
CONTROL VALVE
|$3
723-11-00911
CASE SUB ASS'Y
1
CASE,SPRING
2
722-12-19120
O-RING
3
PLUG
4
07002-10823
5
SEAT
6
BALL
7
702-21-54260
Выбрано товаров: 0