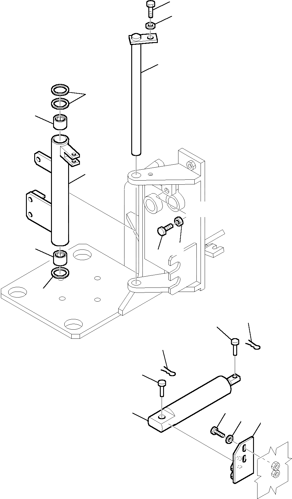
Запчасти Komatsu PC45R-8 СЕРВОУПРАВЛ. БЛОКИР. СИСТЕМА СИСТЕМА УПРАВЛЕНИЯ И ОСНОВНАЯ РАМА

Схема запчастей Komatsu PC45R-8 - СЕРВОУПРАВЛ. БЛОКИР. СИСТЕМА СИСТЕМА УПРАВЛЕНИЯ И ОСНОВНАЯ РАМА
10
13
8
9
13
12
11
12
15
14
5
4
3
2
7
1
8
6
FIT
1:1
100%

Артикул

Название

Примечание

Количество

1

3F0572050

CYLINDER, ASSY.

2

390596037

PIN

3

802610043

PIN, COTTER

4

500611698

PIN

5

802610026

PIN, COTTER

6

3F2041053

SUPPORT

7

801015086

BOLT

8

802170001

WASHER

9

3F4572050

PIN

10

801015084

BOLT

11

3F4572051

LINK

12

805820123

BEARING

13

390617009

SPACER

14

801015110

BOLT

15

801920105

NUT

Выбрано товаров: 15