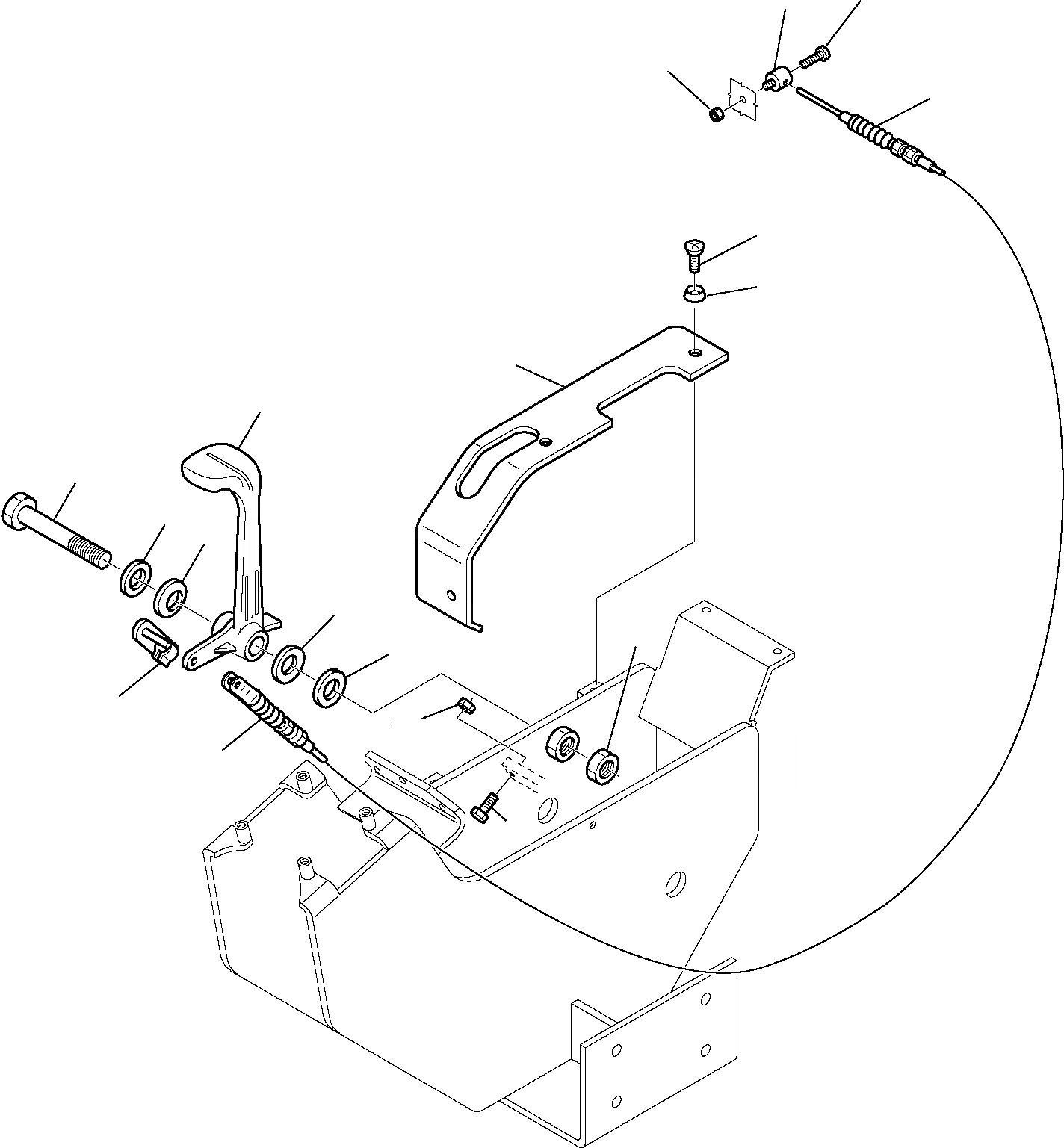
Запчасти Komatsu PC45R-8 РЫЧАГ УПРАВЛ-Я ПОДАЧЕЙ ТОПЛИВА СИСТЕМА УПРАВЛЕНИЯ И ОСНОВНАЯ РАМА

Схема запчастей Komatsu PC45R-8 - РЫЧАГ УПРАВЛ-Я ПОДАЧЕЙ ТОПЛИВА СИСТЕМА УПРАВЛЕНИЯ И ОСНОВНАЯ РАМА
8
10
12
9
6
14
15
13
1
2
3
4
4
5
3
7
6
11
FIT
1:1
100%

Артикул

Название

Примечание

Количество

1

312608636

FUEL LEVER

2

801015618

BOLT

3

802170005

WASHER

4

804010086

SPRING

5

801703412

NUT

6

3F3034054

CABLE

7

802725016

PIN

8

801014023

BOLT

9

801880206

NUT, STOP

10

3F3034054

CABLE

11

801015088

BOLT

12

801920104

NUT

13

3F1042705

COVER

14

801250260

SCREW

15

816212687

WASHER

Выбрано товаров: 15