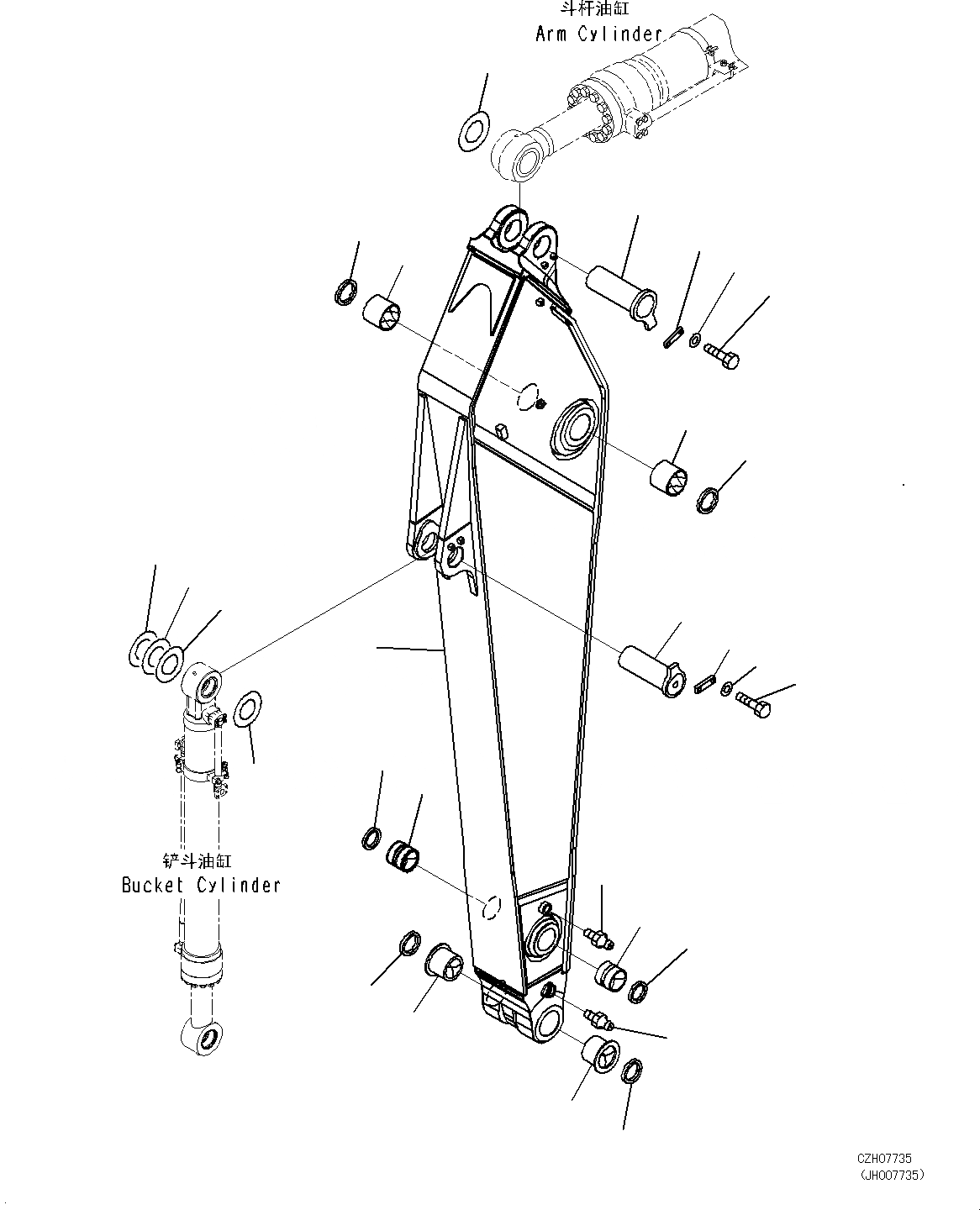
Запчасти Komatsu PC460LC-8 РУКОЯТЬ (9MM) (РУКОЯТЬ И ПАЛЕЦ) T [РАБОЧЕЕ ОБОРУДОВАНИЕ]

Схема запчастей Komatsu PC460LC-8 - РУКОЯТЬ (9MM) (РУКОЯТЬ И ПАЛЕЦ) T [РАБОЧЕЕ ОБОРУДОВАНИЕ]
4
7
4
5
3
5
6
7
7
9
10
11
6
8
1
7
3
2
2
17
13
14
16
15
17
18
17
12
FIT
1:1
100%

Артикул

Название

Примечание

Количество

1

208-944-D610

ARM

2

208-70-72541

BUSHING

3

208-70-13141

BUSHING

4

208-70-72170

BUSHING

5

07020-00000

FITTING, ASE

6

07145-00120

SEAL, T

7

208-70-73530

SEAL, T

8

208-70-61220

PIN

9

205-70-66580

PLATE

10

01010-81235

BOLT

11

01643-31232

WASHER

12

207-70-11370

SPACER, T=1.5MM

13

208-70-61241

PIN

14

205-70-66581

PLATE

15

01010-81235

BOLT

16

01643-31232

WASHER

17

207-70-11350

SPACER, T=1.5MM

18

207-70-11340

SPACER, T=0.8MM

Выбрано товаров: 18