Запчасти Komatsu PC490LC-10 ОСНОВН. УПРАВЛЯЮЩ. КЛАПАН, С -СЕРВИСНЫЙ КЛАПАН, ВНУТР. ЧАСТИ (/) ОСНОВН. УПРАВЛЯЮЩ. КЛАПАН, С -СЕРВИСНЫЙ КЛАПАН

Схема запчастей Komatsu PC490LC-10 - ОСНОВН. УПРАВЛЯЮЩ. КЛАПАН, С -СЕРВИСНЫЙ КЛАПАН, ВНУТР. ЧАСТИ (/) ОСНОВН. УПРАВЛЯЮЩ. КЛАПАН, С -СЕРВИСНЫЙ КЛАПАН
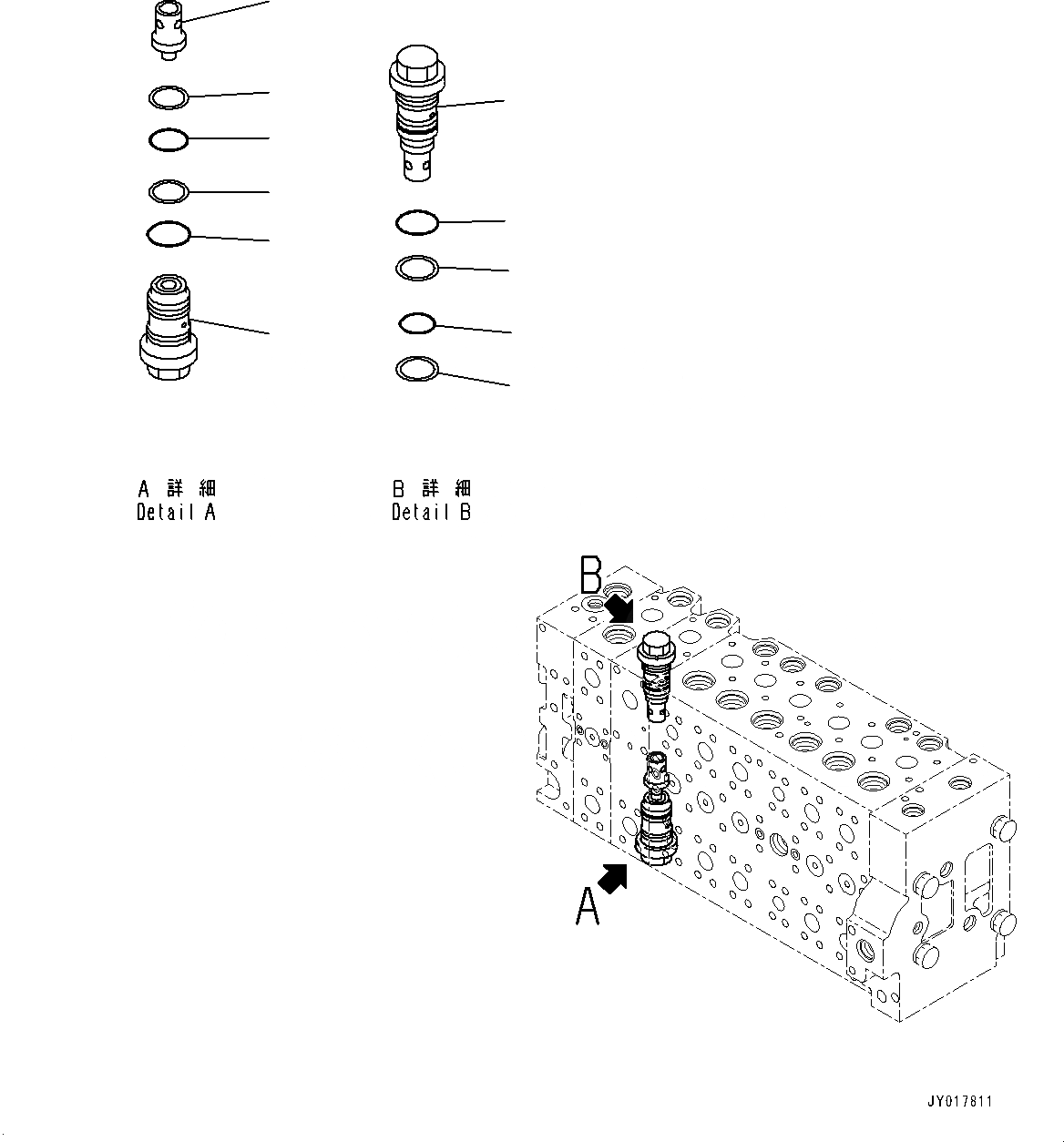
1
5
4
4
3
2
9
8
8
7
6
FIT
1:1
100%

Артикул

Название

Примечание

Количество

|$0

723-48-27400

Valve Assembly, Control

1

723-46-41210

Valve

2

723-46-40601

Valve Assembly

3

700-93-11320

O-Ring

4

723-46-41950

Ring, Back-Up

5

07002-13634

O-Ring

6

723-46-43400

Valve Assembly

7

700-93-11320

O-Ring

8

723-46-41950

Ring, Back-Up

9

07002-13634

O-Ring

Выбрано товаров: 0