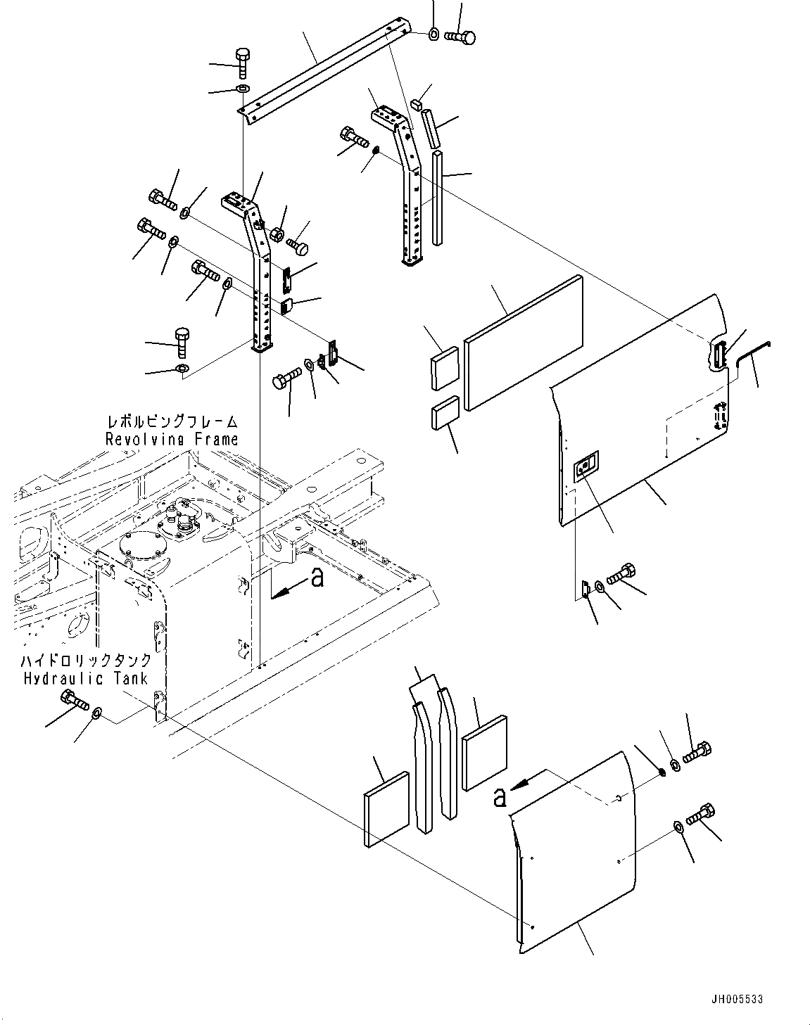
Запчасти Komatsu PC490LC-10 ЛЕВ. COVER ЛЕВ. COVER

Схема запчастей Komatsu PC490LC-10 - ЛЕВ. COVER ЛЕВ. COVER
28
5
4
29
34
35
4
15
36
19
8
25
22
12
20
7
9
5
41
6
3
1
2
24
21
23
37
42
38
39
10
11
13
14
17
16
18
27
26
30
31
32
33
39
40
42
41
42
41
FIT
1:1
100%

Артикул

Название

Примечание

Количество

1

208-54-42811

Frame

2

208-54-42821

Frame

3

208-54-42831

Frame

4

01010-81225

Bolt

5

01643-31232

Washer

6

208-54-42870

Plate

7

01010-81225

Bolt

8

01643-31232

Washer

9

208-54-42880

Bracket

10

01010-81225

Bolt

11

01643-31232

Washer

12

208-54-42890

Bracket

13

01010-81225

Bolt

14

01643-31232

Washer

15

205-54-51970

Dovetail

16

01010-80616

Bolt

17

01643-30623

Washer

18

20Y-54-11611

Stopper

19

01580-11008

Nut

20

208-54-42841

Cover

21

20Y-54-63414

Hinge, Welded

22

20Y-54-71372

Lock, Welded

23

01010-81225

Bolt

24

124-54-26540

Washer

25

205-54-53550

Dovetail

26

01010-80616

Bolt

27

01643-30623

Washer

28

20Y-54-29232

Bar

29

208-54-42941

Sheet

30

208-54-42951

Sheet

31

208-54-42970

Sheet

32

208-54-42931

Sheet

33

208-54-42961

Sheet

34

208-54-42990

Sheet

35

01010-81230

Bolt

36

01643-31232

Washer

37

208-54-42862

Cover

38

208-54-42922

Sheet

39

208-54-43310

Sheet

40

203-54-62670

Collar

41

01010-81230

Bolt

42

01643-31232

Washer

Выбрано товаров: 42