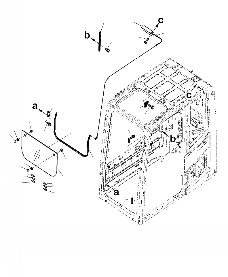
Запчасти Komatsu PC490LC-10 K-A КАБИНА ПЕРЕДН. НИЖН. ОКНА OPERATORS ОБСТАНОВКА И СИСТЕМА УПРАВЛЕНИЯ

Схема запчастей Komatsu PC490LC-10 - K-A КАБИНА ПЕРЕДН. НИЖН. ОКНА OPERATORS ОБСТАНОВКА И СИСТЕМА УПРАВЛЕНИЯ
17
1
3
2
18
9
13
14
6
16
7
15
5
10
19
8
6
7
5
12
4
11
12
11
9
FIT
1:1
100%

Артикул

Название

Примечание

Количество

1

20Y-53-11591

SPRING ASSEMBLY

2

01435-00616

BOLT

3

20Y-54-51640

HOLDER

|$4

20Y-53-11601

WINDOW ASSEMBLY

4

20Y-53-11611

GLASS

5

22B-54-15970

RETAINER

6

22B-54-15980

KNOB

7

08037-02512

GROMMET

8

2A5-53-12160

TRIM

9

20Y-53-11940

SEAT

10

01023-20612

SCREW

11

2A5-53-11981

STOPPER

12

20Y-53-12892

RUBBER

13

22B-54-15841

LOCK ASSEMBLY

14

01435-40616

BOLT

15

20Y-53-12611

SEAT

16

01023-20616

SCREW

17

20Y-53-12631

RAIL

18

01023-20616

SCREW

19

20U-54-25140

STOPPER

Выбрано товаров: 0