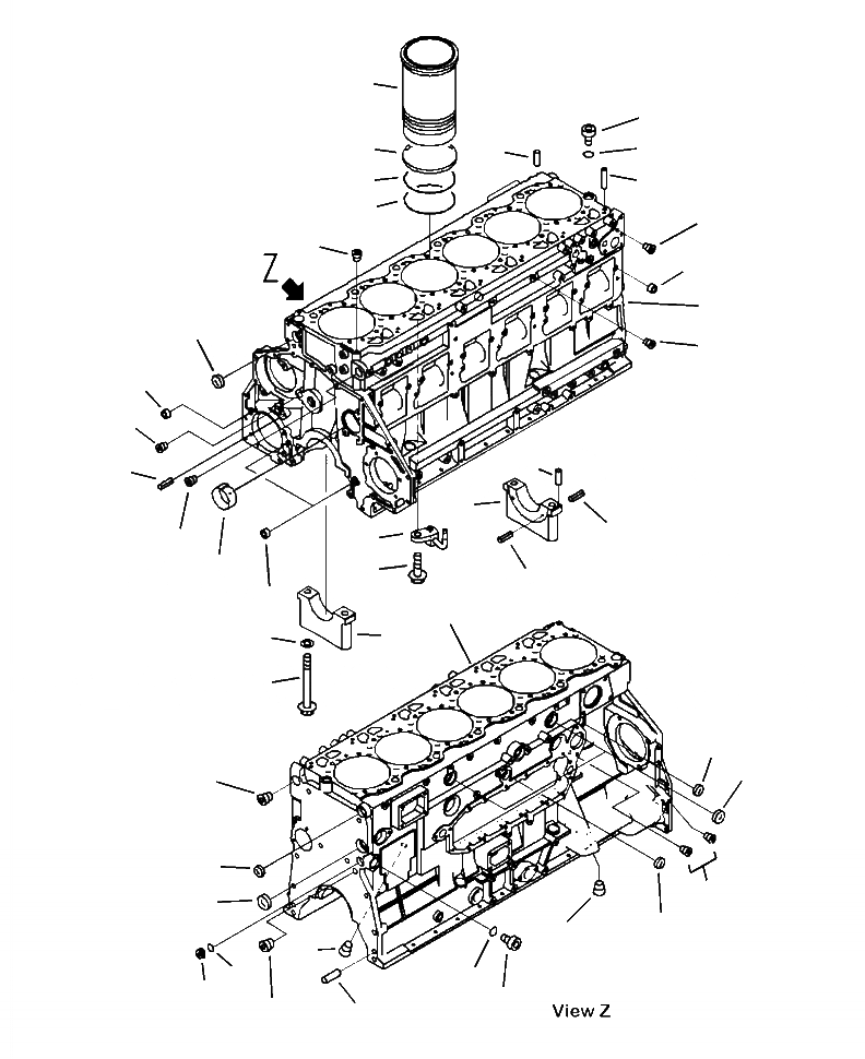
Запчасти Komatsu PC490LC-10 A- БЛОК ЦИЛИНДРОВ ДВИГАТЕЛЬ

Схема запчастей Komatsu PC490LC-10 - A- БЛОК ЦИЛИНДРОВ ДВИГАТЕЛЬ
28
11
14
31
20
21
30
29
8
8
26
1
19
8
22
9
5
27
4
24
10
32
2
33
24
23
1
3
7
6
15
19
10
15
8
16
15
9
10
18
13
17
12
10
25
FIT
1:1
100%

Артикул

Название

Примечание

Количество

|$0

6252-21-1100

CYLINDER BLOCK ASSEMBLY

1

NSS

BLOCK

2

6150-21-1490

BUSHING

|$3

6150-21-1210

CAP, MAIN BEARING NO. 1,2,3,4,5,6

3

6150-29-1210

CAP, MAIN BEARING NO. 1,2,3,4,5,6

|$5

6150-21-1250

CAP, MAIN BEARING NO. 7

4

6150-29-1250

CAP, MAIN BEARING NO. 7

5

04020-00514

PIN, DOWEL

6

6150-21-1710

BOLT

7

01643-31645

WASHER

8

07043-70108

PLUG

9

07043-70211

PLUG

10

07043-70617

PLUG

11

07040-12414

PLUG

12

07040-13016

PLUG

13

07002-23034

O-RING

14

07002-22434

O-RING

15

07046-43016

PLUG

16

07046-44016

PLUG

17

6154-21-1981

PLUG

18

07000-72022

O-RING

19

07046-43516

PLUG

20

04020-00820

PIN, DOWEL

21

6150-21-1170

TUBE

22

6150-41-2430

PIN

23

6150-41-2440

PIN

24

04025-00408

PIN, SPRING

25

6150-21-4770

PIN, DOWEL

26

6150-41-2430

PIN

27

04025-00512

PIN, SPRING

28

6154-21-2220

LINER, CYLINDER

29

6150-21-2230

O-RING

30

6251-21-2240

O-RING

31

6150-21-2250

SEAL

32

6154-21-1810

NOZZLE

33

01435-00816

BOLT

Выбрано товаров: 36