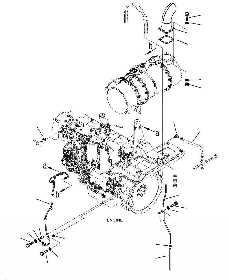
Запчасти Komatsu PC490LC-10 A9999- КОМПОНЕНТЫ ДВИГАТЕЛЯ, ЭЛЕМЕНТЫ КРЕПЛЕНИЯ КОМПОНЕНТЫ ДВИГАТЕЛЯ

Схема запчастей Komatsu PC490LC-10 - A9999- КОМПОНЕНТЫ ДВИГАТЕЛЯ, ЭЛЕМЕНТЫ КРЕПЛЕНИЯ КОМПОНЕНТЫ ДВИГАТЕЛЯ
2
4
1
5
4
3
22
21
23
6
13
9
10
7
18
8
17
20
19
14
12
11
16
15
FIT
1:1
100%

Артикул

Название

Примечание

Количество

1

208-01-41314

PIPE

2

01020-11245

BOLT, STAINLESS

3

01581-01210

NUT, STAINLESS

4

01643-31232

WASHER

5

6211-11-5490

GASKET

6

208-01-41322

TUBE

7

6991-11-5990

CLAMP

8

6631-11-6390

SPACER

9

01010-81035

BOLT

10

01643-31032

WASHER

11

208-01-41330

HOSE

12

07285-00130

CLIP

13

208-06-41242

WIRING HARNESS

14

6252-81-9510

CLIP

15

01010-81020

BOLT

16

01643-31032

WASHER

17

08193-30010

CLIP

18

6144-11-5630

SPACER

19

01010-81055

BOLT

20

01643-31032

WASHER

21

6252-81-9630

CLIP

22

208-979-4331

ELBOW

23

208-979-4340

HOSE

Выбрано товаров: 23