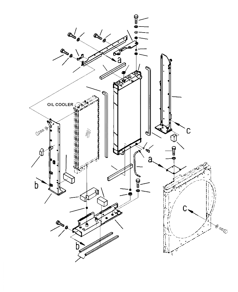
Запчасти Komatsu PC490LC-10 C- РАДИАТОР СИСТЕМА ОХЛАЖДЕНИЯ

Схема запчастей Komatsu PC490LC-10 - C- РАДИАТОР СИСТЕМА ОХЛАЖДЕНИЯ
16
39
11
17
10
40
12
15
13
37
14
13
1
2
7
21
22
20
8
19
9
6
5
39
30
35
40
4
33
38
3
36
26
32
28
27
29
31
18
28
23
24
25
34
FIT
1:1
100%

Артикул

Название

Примечание

Количество

1

208-03-41111

RADIATOR ASSEMBLY

2

20Y-03-22110

CAP

3

205-03-71230

HOSE

4

20Y-03-11330

CLIP

5

205-03-62660

PLUG

6

07000-11007

O-RING

7

208-03-41991

SEAL

8

208-03-42120

SEAL

9

208-03-42110

SEAL

10

208-03-42260

BRACKET

11

01010-81235

BOLT

12

01643-31232

WASHER

13

14X-03-51621

CUSHION

14

14X-03-51640

SPACER

15

14X-03-51770

WASHER

16

01010-81045

BOLT

17

01643-31032

WASHER

18

208-03-41181

FRAME

19

208-03-41191

FRAME

20

208-03-41211

BRACKET

21

01010-81225

BOLT

22

01643-31232

WASHER

23

208-03-41220

FRAME

24

01010-81025

BOLT

25

01643-31032

WASHER

26

01010-81020

BOLT

27

01643-31032

WASHER

28

22B-03-12590

CUSHION

29

208-03-71380

CUSHION

30

208-03-42131

SEAL

31

208-03-42140

SEAL

32

208-03-42170

SEAL

33

208-03-42150

SEAL

34

208-03-42180

SEAL

35

208-03-42161

SEAL

36

208-03-41980

SEAL

37

208-03-42280

SEAL

38

208-03-41330

BRACKET

39

01010-81225

BOLT

40

01643-31232

WASHER

Выбрано товаров: 0