Запчасти Komatsu PC490LC-11 ДОПОЛН. ЗАДН. ЛАМПА РАБОЧ. ОСВЕЩЕНИЯ (№8-) ДОПОЛН. ЗАДН. ЛАМПА РАБОЧ. ОСВЕЩЕНИЯ

Схема запчастей Komatsu PC490LC-11 - ДОПОЛН. ЗАДН. ЛАМПА РАБОЧ. ОСВЕЩЕНИЯ (№8-) ДОПОЛН. ЗАДН. ЛАМПА РАБОЧ. ОСВЕЩЕНИЯ
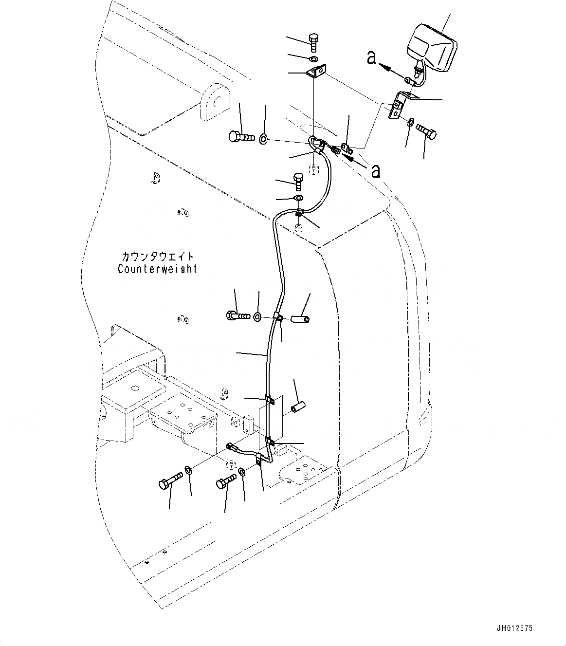
1
2
6
3
4
5
12
8
7
13
14
15
24
25
6
11
10
9
16
17
18
19
21
20
22
23
26
FIT
1:1
100%

Артикул

Название

Примечание

Количество

1

208-06-41260

Wiring Harness

2

04434-51012

Clip

3

01010-81225

Bolt

4

01643-31232

Washer

5

195-979-5190

Collar

6

04434-51012

Clip

7

01010-81275

Bolt

8

01643-31232

Washer

9

22S-62-26210

Spacer

10

04434-51012

Clip

11

01011-81205

Bolt

12

01643-31232

Washer

13

04434-51012

Clip

14

01010-81220

Bolt

15

01643-31232

Washer

16

20Y-06-21590

Bracket

17

01010-81230

Bolt

18

01643-31232

Washer

19

20Y-06-21551

Bracket

20

01010-81230

Bolt

21

01643-31232

Washer

22

08193-20012

Clip

23

04434-51012

Clip

24

01010-81230

Bolt

25

01643-31232

Washer

26

20Y-06-43230

Working Lamp Assembly

26

421-06-23330

Bulb, 70watt

Выбрано товаров: 27