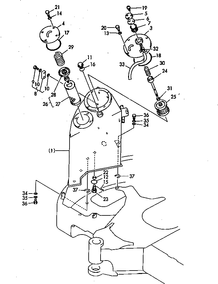
Запчасти Komatsu PC50FR-1 ГИДР. БАК. УПРАВЛ-Е РАБОЧИМ ОБОРУДОВАНИЕМ

Схема запчастей Komatsu PC50FR-1 - ГИДР. БАК. УПРАВЛ-Е РАБОЧИМ ОБОРУДОВАНИЕМ
FIT
1:1
100%

Артикул

Название

Примечание

Количество

1

YM772164-75100

TANK ASS'Y

3

YM172164-75250

COVER

4

YM172122-75331

COVER

5

YM172165-75450

PLATE

6

YM172165-75460

GASKET

7

YM172165-75481

ELEMENT

8

YM172122-75600

GAUGE,OIL LEVEL

9

YM172122-75620

BOLT

10

YM172122-75630

GASKET

11

YM17211675850K

PLUG,OIL FEED

12

YM24341-000300

O-RING

13

YM22217-100000

WASHER

14

YM22217-100000

WASHER

15

YM22417-200160

PIN

16

YM24311-000380

O-RING

17

YM24321-001350

O-RING

18

YM24321-001900

O-RING

19

YM26022-050102

SCREW

20

YM26116-100202

BOLT

21

YM26116-100202

BOLT

22

YM933171-23042

MAGNET

23

YM172183-75750

PLUG,DRAIN

24

YM172164-73700

ROD

25

YM172112-74801

STRAINER,SUCTION

26

YM172112-74901

ELEMENT ASS'Y

27

YM172112-74911

ELEMENT

28

YM172112-74971

VALVE

29

YM172112-75770

SPRING,STRAINER

30

YM172112-75780

SPRING,STRAINER

31

YM26716-100002

NUT

32

YM124766-59050

CLAMP

33

YM172165-75490

HOSE

34

YM22137-140000

WASHER

35

YM22217-140000

WASHER

36

YM26116-140402

BOLT

37

YM172117-53330

SPACER

|37

YM933169-23070

SPACER

Выбрано товаров: 0