Запчасти Komatsu PC50FR-1 ТОПЛИВН. БАК. AND ТОПЛИВОПРОВОД.(№-) КОМПОНЕНТЫ ДВИГАТЕЛЯ И ЭЛЕКТРИКА

Схема запчастей Komatsu PC50FR-1 - ТОПЛИВН. БАК. AND ТОПЛИВОПРОВОД.(№-) КОМПОНЕНТЫ ДВИГАТЕЛЯ И ЭЛЕКТРИКА
FIT
1:1
100%

Артикул

Название

Примечание

Количество

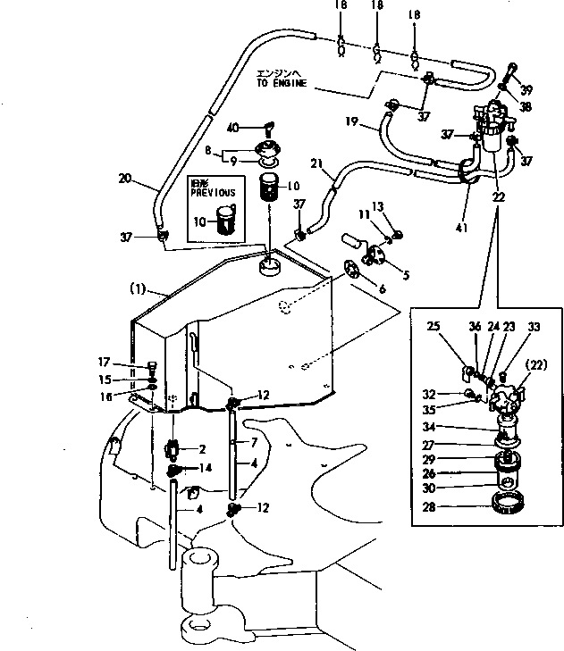
1

YM772964-14100

TANK ASS'Y,FUEL (PAINT)

|1

YM772164-14100

TANK ASS'Y

2

YM104200-11920

COCK

4

YM172164-14171

HOSE

5

YM172162-14180

GAUGE UNIT

6

YM172162-14200

PACKING

7

YM172141-14260

FLOAT

8

YM172964-14300

CAP,FUEL TANK (PAINT)

|8

YM172122-14300

CAP

9

YM105430-55070

GASKET

10

YM172183-14250

STRAINER

|10

YM101504-55101

STRAINER,FUEL INLET

11

YM22217-050000

WASHER

12

YM23010-014000

BAND

13

YM26557-050122

SCREW

14

YM23080-013000

CLAMP

15

YM22217-140000

WASHER

16

YM22137-140000

WASHER,HOSE

17

YM26116-140352

BOLT

18

YM172171-14300

CLAMP

|18

YM172171-14300

CLAMP

19

YM172116-14620

HOSE,FUEL

20

YM172164-14620

HOSE

21

YM172176-14620

HOSE

22

YM129335-55700

WATER SEPARATOR A.

23

YM104200-55321

VALVE,TAPER

24

YM104200-55330

SPRING

25

YM104200-55341

LEVER,COCK

26

YM124064-55510

CASE,FUEL STRAINER

27

YM102103-55520

O-RING

28

YM110250-55610

RING,RETAINING

29

YM121257-55720

SPRING,SCREEN

30

YM121257-55731

FLOAT

32

YM101720-55750

PLUG

33

YM104200-55750

SCREW

34

YM171081-55910

SCREEN

35

YM23418-060000

GASKET,NYLON

36

YM24311-240100

O-RING

37

YM124766-59050

CLAMP

38

YM22217-080000

WASHER

39

YM26116-080702

BOLT

40

KEY ASS'Y

41

YM933152-09280

BAND

Выбрано товаров: 43