Запчасти Komatsu PC50FR-1 УДАЛЕНН. УПРАВЛЯЮЩ. КЛАПАН УПРАВЛ-Е РАБОЧИМ ОБОРУДОВАНИЕМ

Схема запчастей Komatsu PC50FR-1 - УДАЛЕНН. УПРАВЛЯЮЩ. КЛАПАН УПРАВЛ-Е РАБОЧИМ ОБОРУДОВАНИЕМ
FIT
1:1
100%

Артикул

Название

Примечание

Количество

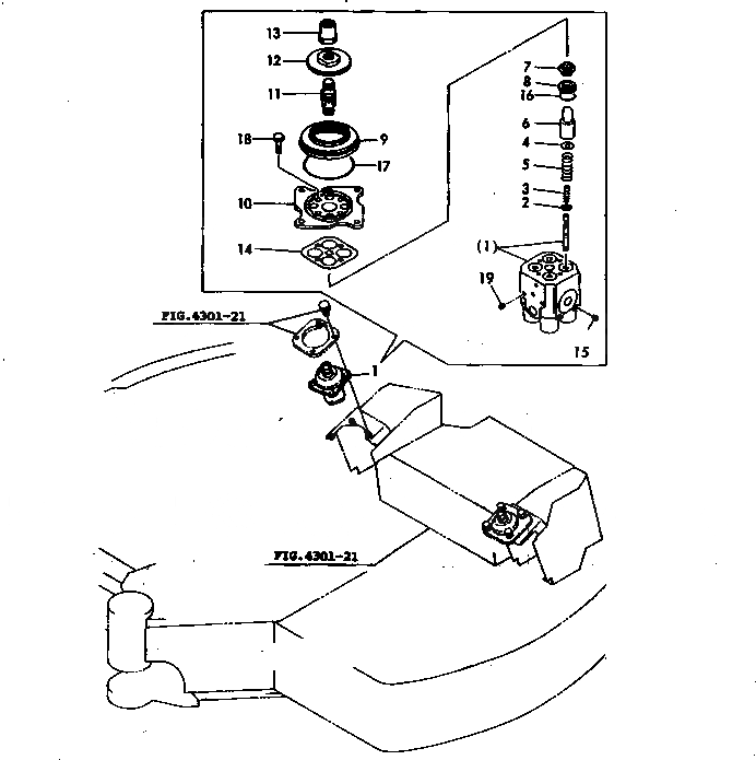
1

YM172151-74611

VALVE ASS'Y

2

YM172151-74860

SHIM

3

YM172151-74870

SPRING

4

YM172151-74880

RETAINER

5

YM172151-74890

SPRING

6

YM172151-74900

PISTON

7

YM172151-74910

SEAL

8

YM172164-74610

COLLAR

9

YM172151-74930

BOOT

10

YM172151-74940

PLATE

11

YM172151-74950

UNION

12

YM172164-74620

DISK

13

YM172164-74630

NUT

14

YM172151-74980

PLATE

15

YM172164-74650

PLUG

16

YM24311-000200

O-RING

17

YM24311-000700

O-RING

18

YM26116-060202

BOLT

19

YM172164-74560

PLUG

Выбрано товаров: 19