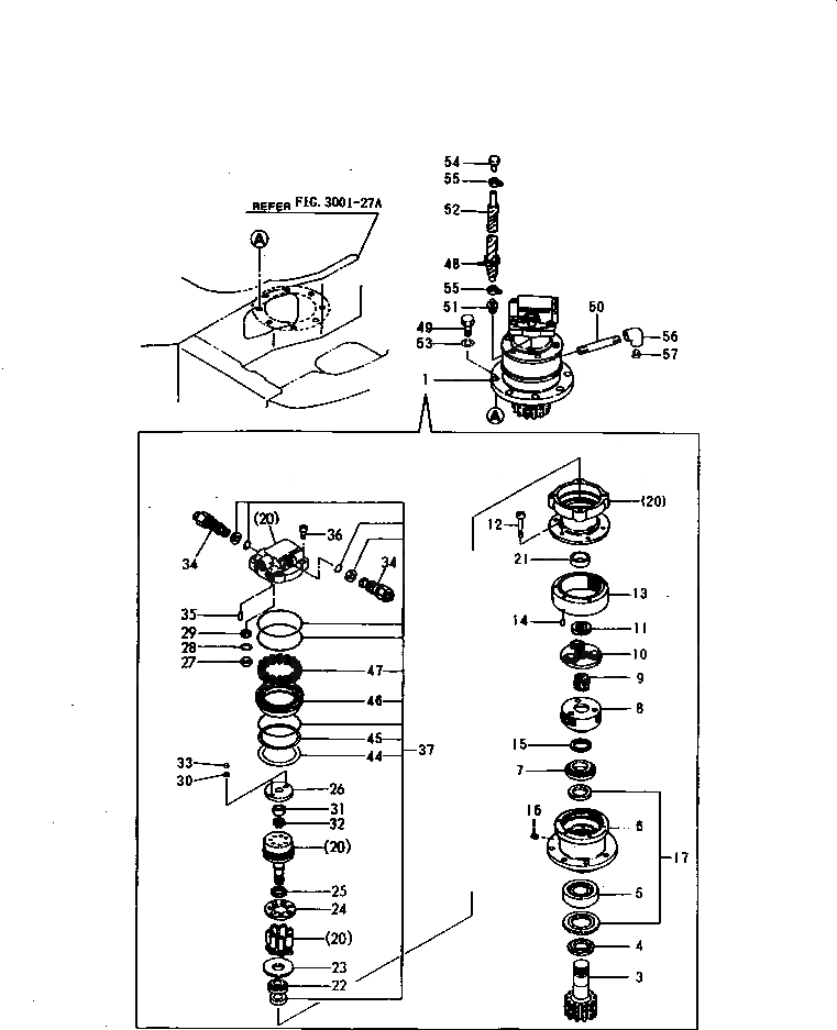
Запчасти Komatsu PC50FR-1 TURNING МОТОР(№-) УПРАВЛ-Е РАБОЧИМ ОБОРУДОВАНИЕМ

Схема запчастей Komatsu PC50FR-1 - TURNING МОТОР(№-) УПРАВЛ-Е РАБОЧИМ ОБОРУДОВАНИЕМ
FIT
1:1
100%

Артикул

Название

Примечание

Количество

1

YM172176-73312

MOTOR ASS'Y

2

YM172176-73321

REDUCTION,REDUCTION

3

YM172165-73320

SHAFT

4

YM172165-73330

COLLAR

5

YM172165-73350

BEARING

6

YM172165-73360

CASE

7

YM172165-73380

BEARING

8

YM172176-73950

HOLDER ASS'Y

9

YM172174-73290

GEAR

10

YM172164-73430

HOLDER ASS'Y

11

YM172165-73420

GEAR

12

YM26450-120802

BOLT

13

YM172165-73490

GEAR

14

YM172162-71540

PIN

15

YM172165-73500

COLLAR

16

YM172162-71670

PLUG

17

YM172164-73340

SEAL ASS'Y

20

YM172176-73331

MOTOR ASS'Y

21

YM172162-71900

COLLAR

22

YM172165-73430

BEARING

23

YM172162-71870

PLATE,CAM

24

YM172162-71860

PLATE,RETURN

25

YM172162-71850

SPRING

26

YM172176-73350

PLATE,BALANCE

27

YM172164-73090

BUSHING

28

YM172164-73080

RING

29

YM172165-73460

SPRING

30

YM172176-73360

PISTON

31

YM172162-71710

BEARING,NEEDLE

32

YM172165-73480

RING

33

YM172176-73370

RING

34

YM172176-73340

RELIEF ASS'Y

35

YM172162-71960

PIN,STRAIGHT

36

YM26450-120302

BOLT

37

YM172164-73361

SEAL ASS'Y

44

YM172162-71720

DISK

45

YM172162-71730

PLATE

46

YM172162-71830

PISTON

47

YM172162-71820

SPRING

48

YM194202-56460

BAND

49

YM26116-160502

BOLT

50

YM172162-73330

CONNECTOR

51

YM172165-76600

CONNECTOR

52

YM172164-78750

HOSE

53

YM22217-160000

WASHER

54

YM22487-100200

PIN

55

YM23000-022000

CLAMP

56

YM23111-030000

ELBOW

57

YM23871-030000

PLUG,SCREW

Выбрано товаров: 49