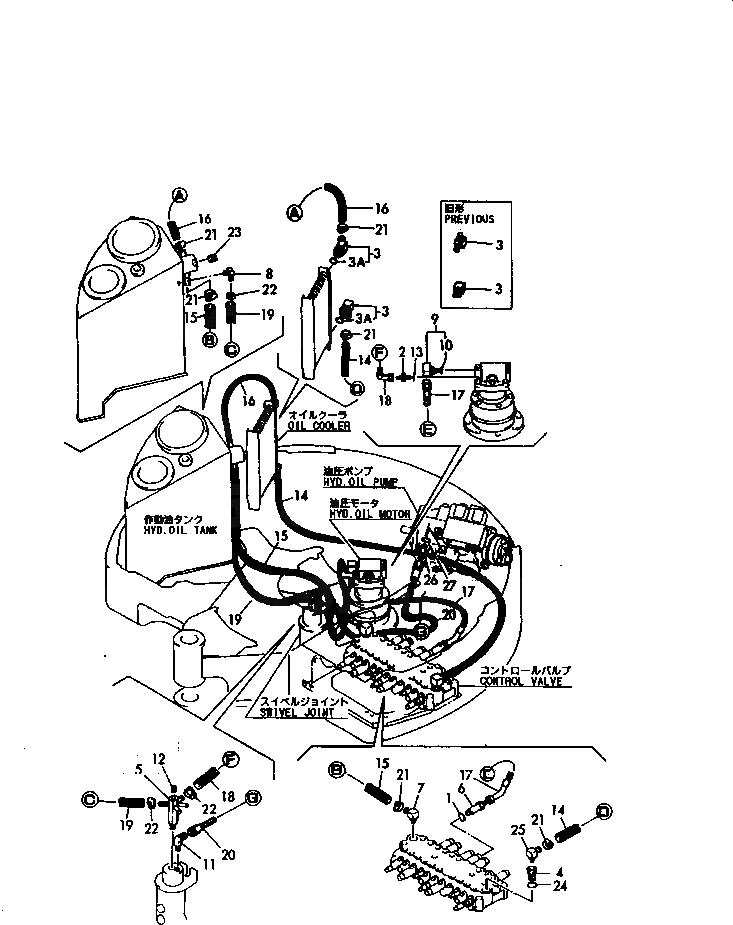
Запчасти Komatsu PC50FR-1 ГИДРОЛИНИЯ (ВОЗВРАТ.)(№-) УПРАВЛ-Е РАБОЧИМ ОБОРУДОВАНИЕМ

Схема запчастей Komatsu PC50FR-1 - ГИДРОЛИНИЯ (ВОЗВРАТ.)(№-) УПРАВЛ-Е РАБОЧИМ ОБОРУДОВАНИЕМ
FIT
1:1
100%

Артикул

Название

Примечание

Количество

1

YM24315-000140

O-RING

2

YM172157-76150

CONNECTOR

3

YM172164-76131

ELBOW

|3

YM172164-76130

ELBOW

3A

YM24315-000180

O-RING

4

YM172176-76250

CONNECTOR

5

YM172164-76241

JOINT

6

YM172165-76340

CONNECTOR

7

YM172176-76220

ELBOW

8

YM172156-76240

ELBOW

9

YM172141-76900

CONNECTOR

10

YM24315-000180

O-RING

11

YM23394-020000

JOINT

12

YM23871-020000

PLUG,SCREW

13

YM24315-000140

O-RING

14

YM172176-78191

HOSE

15

YM172164-78331

HOSE

16

YM172164-78350

HOSE

17

YM172164-78360

HOSE

18

YM172165-78380

HOSE

19

YM172164-78451

HOSE

20

YM172165-78450

HOSE

21

YM23000-035000

CLAMP

22

YM23000-016000

CLAMP

23

YM23871-040000

PLUG,SCREW

24

YM24315-000240

O-RING

25

YM172164-76210

NIPPLE,ELBOW

26

YM172123-76120

CONNECTOR

27

YM24315-000110

O-RING

Выбрано товаров: 0