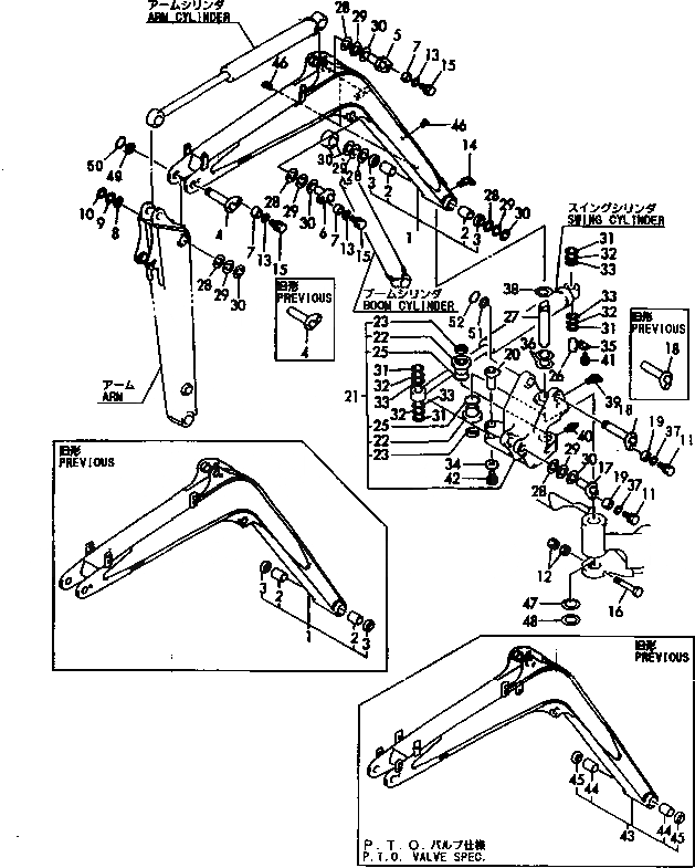
Запчасти Komatsu PC50FR-1 СТРЕЛА И ПОВОРОТН. БЛОК РАБОЧЕЕ ОБОРУДОВАНИЕ

Схема запчастей Komatsu PC50FR-1 - СТРЕЛА И ПОВОРОТН. БЛОК РАБОЧЕЕ ОБОРУДОВАНИЕ
FIT
1:1
100%

Артикул

Название

Примечание

Количество

1

YM17216581103K

BOOM,(GREEN)

|1

YM17216581102K

BOOM

2

YM172147-81451

BUSHING

3

YM172165-81760

SEAL,DUST

4

YM17217681541K

PIN

|4

YM17217681540K

PIN,(GREEN)

5

YM17217681620K

PIN,(GREEN)

6

YM17217681580K

PIN,(GREEN)

7

YM172164-81670

SPACER

8

YM172165-82520

SHIM

9

YM172165-82530

SHIM

10

YM172165-82540

SHIM

11

YM26013-120302

BOLT

12

YM26716-160002

NUT

13

YM22157-120000

WASHER

14

YM24761-040000

FITTING,GREASE

15

YM26013-120302

BOLT

16

YM172312-31120

BOLT

17

YM17217681620K

PIN,(GREEN)

18

YM17217681601K

PIN

|18

YM17217681600K

PIN,(GREEN)

19

YM172164-81670

SPACER

20

YM17216481680K

PIN,(GREEN)

21

YM172165-82301

BRACKET,BOOM

22

YM172165-81710

BUSHING

23

YM172165-81770

SEAL,DUST

25

YM24321-000700

O-RING

26

YM17216582340K

PIN,(GREEN)

27

YM172165-82360

PIN

28

YM172165-82520

SHIM

29

YM172165-82530

SHIM

30

YM172165-82540

SHIM

31

YM172165-82580

SHIM

32

YM172165-82590

SHIM

33

YM172165-82600

SHIM

34

YM172146-82910

SPACER

35

YM17211783970K

PLATE,(GREEN)

36

YM172112-87830

SHIM

37

YM22157-120000

WASHER

38

YM22242-000700

CLIP

39

YM24761-040000

FITTING,GREASE

40

YM24761-050000

FITTING,GREASE

41

YM26013-100202

BOLT

42

YM26013-120252

BOLT

43

YM172176-81301

BOOM ASS'Y,(P.T.O. VALVE SPEC.)

44

YM172147-81451

BUSHING,(P.T.O. VALVE SPEC.)

45

YM172165-81760

SEAL,DUST (P.T.O. VALVE SPEC.)

46

YM172164-81170

CLIP

|46

YM172183-81170

CLIP

47

YM172176-81700

SHIM

48

YM172176-81710

SHIM

49

YM172176-81650

SPACER

50

YM22242-000451

CLIP

51

YM172176-81650

SPACER

52

YM22242-000451

CLIP

Выбрано товаров: 0