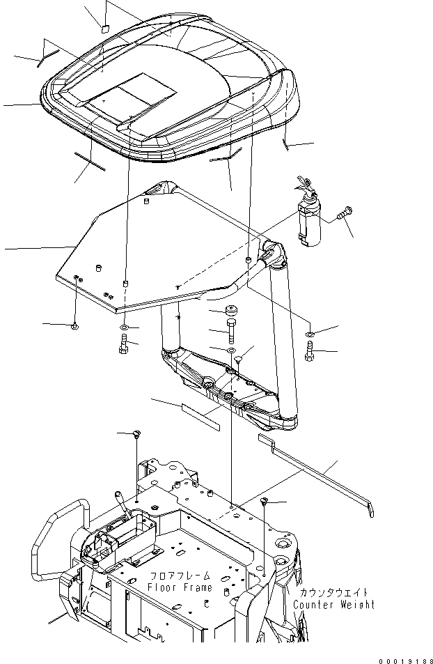
Запчасти Komatsu PC50MR-2 НАВЕС КАБИНА ОПЕРАТОРА И СИСТЕМА УПРАВЛЕНИЯ
1
2
3
4
5
6
7
8
9
10
11
11
12
13
14
14
15
15
15
16
16
FIT
1:1
100%
№
Артикул
Название
Примечание
Количество
1
22L-54-23111
ROOF
2
22M-54-25211
POLE
3
22M-54-25280
SHEET
4
01010-81475
BOLT
5
01643-31445
WASHER
6
22M-54-26180
CAP
7
01010-D1040
BOLT
8
01643-71032
WASHER
9
01010-D1035
BOLT
10
01643-71032
WASHER
11
20T-54-74510
CAP
12
01023-20812
SCREW
13
22M-54-23130
SHEET
14
22L-46-12150
CAP
15
22M-54-26120
SHEET
16
22M-54-26130
SHEET
Выбрано товаров: 16