Запчасти Komatsu PC50MR-2 КАБИНА (/8) (ДВЕРЬ) (/)(№-77) КАБИНА ОПЕРАТОРА И СИСТЕМА УПРАВЛЕНИЯ

Схема запчастей Komatsu PC50MR-2 - КАБИНА (/8) (ДВЕРЬ) (/)(№-77) КАБИНА ОПЕРАТОРА И СИСТЕМА УПРАВЛЕНИЯ
1
2
3
4
5
6
7
8
9
10
11
12
13
14
15
16
17
18
19
20
21
22
23
24
24
24
24
25
25
25
25
25
FIT
1:1
100%

Артикул

Название

Примечание

Количество

|$36

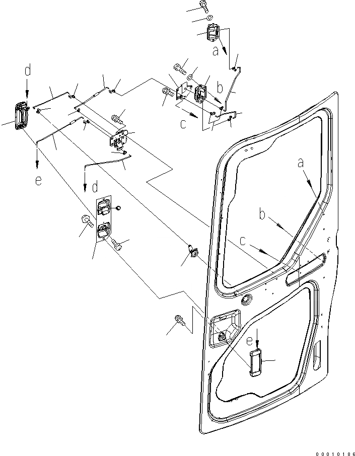
22M-54-00060

CAB ASS'Y

|$38

22M-54-00140

CAB ASS'Y

|$40

22M-54-00070

DOOR ASS'Y

1

20Y-54-14520

LOCK ASS'Y

2

01010-80616

BOLT

3

01643-30623

WASHER

4

20Y-54-14520

LOCK ASS'Y

5

01010-80616

BOLT

6

01643-30623

WASHER

7

22M-54-24450

BRACKET

8

01435-40610

BOLT

9

22B-54-16220

HANDLE

10

01023-10612

SCREW

11

22B-54-16211

HANDLE

12

01023-10612

SCREW

13

20Y-54-35890

LOCK ASS'Y

14

22M-54-14650

REMOTE CONTROL ASS'Y

15

01023-10608

SCREW

16

22M-54-14661

LINK ASS'Y

17

01023-10608

SCREW

18

22M-54-24320

ROD

19

22M-54-24330

ROD

20

22M-54-24340

ROD

21

22M-54-24351

ROD

22

22M-54-24360

ROD

23

22M-54-24370

ROD

24

205-54-71830

SNAP

25

205-54-71840

SNAP

Выбрано товаров: 0