Запчасти Komatsu PC50MR-2 КАБИНА (8/8) (КАБИНАЧАСТЬ)(№77-) КАБИНА ОПЕРАТОРА И СИСТЕМА УПРАВЛЕНИЯ

Схема запчастей Komatsu PC50MR-2 - КАБИНА (8/8) (КАБИНА ЧАСТЬ)(№77-) КАБИНА ОПЕРАТОРА И СИСТЕМА УПРАВЛЕНИЯ
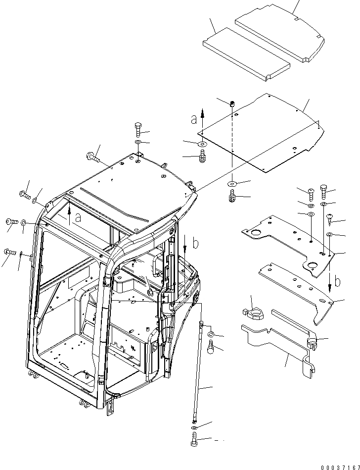
1
2
3
4
5
5
6
7
8
9
10
11
12
13
14
15
16
17
18
19
20
21
21
22
22
23
24
25
26
27
27
27
28
28
28
FIT
1:1
100%

Артикул

Название

Примечание

Количество

|$49

22M-54-00062

CAB ASS'Y

|$50

22M-54-00061

CAB ASS'Y

|$51

22M-54-00060

CAB ASS'Y

|$53

22M-54-00141

CAB ASS'Y

|$54

22M-54-00140

CAB ASS'Y

|$56

22M-54-00211

CAB ASS'Y,(HIGH ALTITUDE SPEC.)

1

22M-54-25522

COVER

2

22M-54-23990

SHEET

3

22M-54-25760

SHEET

4

22M-54-25320

NUT

5

22W-70-16120

WASHER

6

01023-70616

SCREW

7

01023-70620

SCREW

8

22M-54-25861

SEAT

9

22M-54-25852

COVER

10

22M-54-25770

SHEET

11

22M-54-25780

SHEET

12

22M-54-25790

SHEET

13

22W-70-16120

WASHER

14

01023-70612

SCREW

15

22M-54-24630

WASHER

16

01010-D0816

BOLT

17

01643-70823

WASHER

18

01010-D0816

BOLT

19

01643-70823

WASHER

20

22M-54-25311

GRIP

21

01010-D1225

BOLT

22

01643-71232

WASHER

23

01435-40610

BOLT

24

01010-D1220

BOLT

25

01643-71232

WASHER

26

01584-31210

NUT

27

01245-01016

SCREW

28

01643-71032

WASHER

Выбрано товаров: 0