Запчасти Komatsu PC50MR-2 НАВЕС КАБИНА ОПЕРАТОРА И СИСТЕМА УПРАВЛЕНИЯ

Схема запчастей Komatsu PC50MR-2 - НАВЕС КАБИНА ОПЕРАТОРА И СИСТЕМА УПРАВЛЕНИЯ
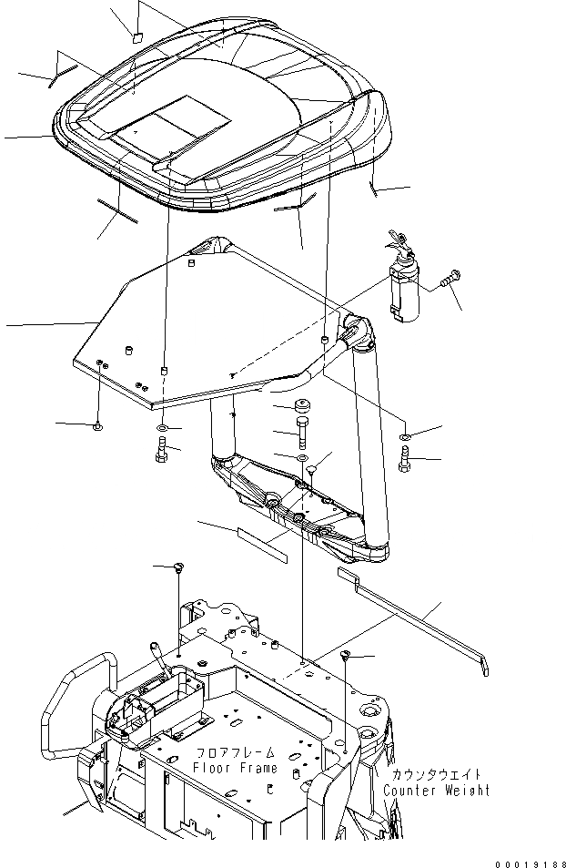
1
2
3
4
5
6
7
8
9
10
11
11
12
13
14
14
15
15
15
16
16
FIT
1:1
100%

Артикул

Название

Примечание

Количество

1

22L-54-23111

ROOF

2

22M-54-25211

POLE

3

22M-54-25280

SHEET

4

01010-81475

BOLT

5

01643-31445

WASHER

6

22M-54-26180

CAP

7

01010-D1040

BOLT

8

01643-71032

WASHER

9

01010-D1035

BOLT

10

01643-71032

WASHER

11

20T-54-74510

CAP

12

01023-20812

SCREW

13

22M-54-23130

SHEET

14

22L-46-12150

CAP

15

22M-54-26120

SHEET

16

22M-54-26130

SHEET

Выбрано товаров: 16