Запчасти Komatsu PC50MR-2 ОСНОВНАЯ РАМА СИСТЕМА УПРАВЛЕНИЯ И ОСНОВНАЯ РАМА

Схема запчастей Komatsu PC50MR-2 - ОСНОВНАЯ РАМА СИСТЕМА УПРАВЛЕНИЯ И ОСНОВНАЯ РАМА
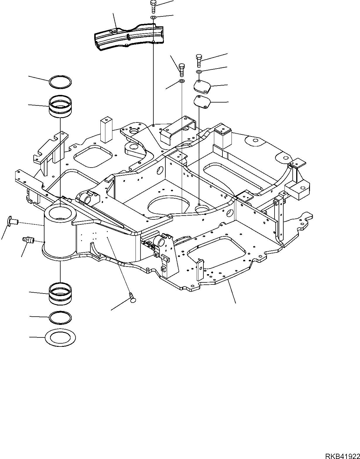
12
11
13
14
8
9
3
6
15
7
2
16
4
2
1
5
3
10
FIT
1:1
100%

Артикул

Название

Примечание

Количество

1

22M-46-21112

FRAME

1

22M-46-R1112

FRAME

2

22M-70-21710

BUSHING

2

22M-70-R1710

BUSHING

2

22M-70-32530

BUSHING

3

07145-00120

SEAL, DUST

4

07020-00000

FITTING, GREASE

5

04418-13060

SCREW

6

203-46-56160

COVER

7

203-46-61520

GASKET

8

01010-81230

BOLT

9

01643-11232

WASHER

10

22M-46-21220

SPACER

11

22M-46-21210

BRACKET

12

01010-81230

BOLT

13

01643-11232

WASHER

14

01010-81020

BOLT

15

01643-11032

WASHER

16

22L-09-R3760

PLUG

Выбрано товаров: 19