Запчасти Komatsu PC50UU-1 КАБИНА (/7) ЧАСТИ КОРПУСА

Схема запчастей Komatsu PC50UU-1 - КАБИНА (/7) ЧАСТИ КОРПУСА
FIT
1:1
100%

Артикул

Название

Примечание

Количество

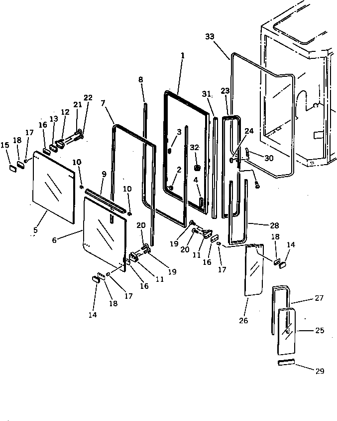
|1

20U-54-00012

OPERATOR'S CAB ASS'Y

|1

20U-54-00011

OPERATOR'S CAB ASS'Y

|1

20U-54-00010

OPERATOR'S CAB ASS'Y

|1

21W-54-14410

SASH ASS'Y

1

21W-54-14420

SASH SUB ASS'Y

2

21W-54-14680

STOPPER

3

20T-54-32890

CATCH

4

20T-54-32920

STOPPER

5

21W-54-14430

GLASS

6

21W-54-14440

GLASS

7

21W-54-14460

STRIP,WEATHER

8

21W-54-14471

STRIP,WEATHER

9

21W-54-14490

SASH

10

21W-54-14660

RUBBER

11

20T-54-32810

LOCK ASS'Y,L.H.

12

20T-54-32820

LOCK ASS'Y,R.H.

13

21W-54-15110

PLATE,SPACER

14

20T-54-32760

RETAINER,L.H.

15

20T-54-32770

RETAINER,R.H.

16

20T-54-32750

PACKING¤ 2.0MM

17

20T-54-32780

PACKING

18

20T-54-32870

PACKING¤ 1.0MM

19

21W-54-15120

SCREW

20

21W-54-15130

SCREW

21

21W-54-15140

SCREW

22

21W-54-15150

SCREW

23

21W-54-14860

SASH SUB ASS'Y

24

20T-54-32890

CATCH

25

21W-54-14450

GLASS

26

21W-54-14970

GLASS

27

21W-54-14480

STRIP,WEATHER

28

21W-54-14980

STRIP,WEATHER

29

21W-54-14960

SASH

30

21W-54-14670

PLATE

31

21W-54-14850

SASH

32

08037-02512

GROMMET

33

21W-54-14630

STRIP,WEATHER

Выбрано товаров: 37