Запчасти Komatsu PC50UU-1 ЭЛЕКТРИКА (СТРЕЛА)(№-) КОМПОНЕНТЫ ДВИГАТЕЛЯ И ЭЛЕКТРИКА

Схема запчастей Komatsu PC50UU-1 - ЭЛЕКТРИКА (СТРЕЛА)(№-) КОМПОНЕНТЫ ДВИГАТЕЛЯ И ЭЛЕКТРИКА
FIT
1:1
100%

Артикул

Название

Примечание

Количество

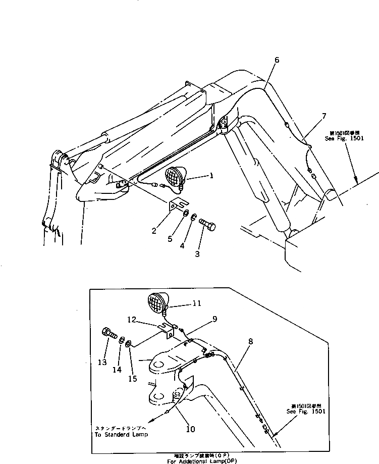
1

08125-01200

LAMP ASS'Y

|1

08107-01260

BULB¤ 60W

|1

08125-00006

LENS

2

20U-06-11310

BRACKET

|2

201-06-21110

BRACKET

3

01010-51025

BOLT

4

01602-21030

WASHER,SPRING

5

01643-31032

WASHER

6

20U-06-12182

WIRE

7

20U-06-12190

WIRE

G-1

20U-70-X1430

WIRING GROUP,(FOR ADDITIONAL LAMP) (OP)

8

20U-06-12270

WIRE

9

20U-06-12280

WIRE

10

20U-06-12290

WIRE

11

08125-01200

LAMP ASS'Y

|11

08107-01260

BULB¤ 60W

|11

08125-00006

LENS

12

20U-06-11310

BRACKET

13

01010-51025

BOLT

14

01602-21030

WASHER,SPRING

15

01643-31032

WASHER

Выбрано товаров: 21