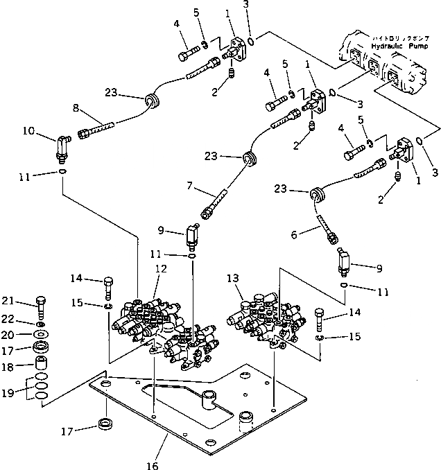
Запчасти Komatsu PC50UU-1 ГИДРОЛИНИЯ (ИЗ НАСОСА В КЛАПАН) (ДЛЯ НАКЛОНЯЕМ. МЕХАНИЧ. ПОВОРОТНЫЙ ОТВАЛ)(№-) УПРАВЛ-Е РАБОЧИМ ОБОРУДОВАНИЕМ

Схема запчастей Komatsu PC50UU-1 - ГИДРОЛИНИЯ (ИЗ НАСОСА В КЛАПАН) (ДЛЯ НАКЛОНЯЕМ. МЕХАНИЧ.   ПОВОРОТНЫЙ ОТВАЛ)(№-) УПРАВЛ-Е РАБОЧИМ ОБОРУДОВАНИЕМ
FIT
1:1
100%

Артикул

Название

Примечание

Количество

1

20T-62-61240

TUBE

2

07042-00108

PLUG

3

07000-13025

O-RING

4

01010-50835

BOLT

5

01602-00825

WASHER,SPRING

6

20U-62-11430

HOSE

7

20U-62-11180

HOSE

8

201-62-58530

HOSE

9

20X-62-21470

ELBOW

10

20X-62-21470

ELBOW

11

07002-12034

O-RING

12

709-36-13402

VALVE ASS'Y,(SEE FIG.6201)

|12

709-36-13401

VALVE ASS'Y,(SEE FIG.6201)

13

709-34-12301

VALVE ASS'Y,(SEE FIG.6221)

14

01010-50825

BOLT

15

01602-20825

WASHER,SPRING

16

20U-910-1711

PLATE

17

203-62-42770

CUSHION

18

20X-62-21550

SPACER

19

07000-03025

O-RING

20

566-35-42430

PLATE

21

01010-51250

BOLT

22

01643-31232

WASHER

23

08037-03614

GROMMET

Выбрано товаров: 24