Запчасти Komatsu PC50UU-1 ГИДРОЛИНИЯ (ЦИЛИНДР ОТВАЛА ЛИНИЯ) (ШАССИ) УПРАВЛ-Е РАБОЧИМ ОБОРУДОВАНИЕМ

Схема запчастей Komatsu PC50UU-1 - ГИДРОЛИНИЯ (ЦИЛИНДР ОТВАЛА ЛИНИЯ) (ШАССИ) УПРАВЛ-Е РАБОЧИМ ОБОРУДОВАНИЕМ
FIT
1:1
100%

Артикул

Название

Примечание

Количество

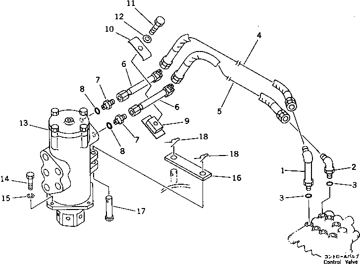
1

20T-62-66410

ELBOW

|1

20T-62-61411

ELBOW

2

20T-62-61620

ELBOW

|2

20S-62-21680

ELBOW

3

07002-11823

O-RING

4

20U-62-11410

HOSE

5

07123-00307

HOSE

6

20U-62-11360

TUBE

7

07230-10315

UNION

8

07002-02034

O-RING

9

20U-62-11590

PLATE

10

20U-62-11580

CLAMP

11

01010-51016

BOLT

12

01643-31032

WASHER

13

703-08-13102

SWIVEL JOINT ASS'Y,(SEE FIG.6151)

|13

703-08-13101

SWIVEL JOINT ASS'Y,(SEE FIG.6151)

14

01010-51230

BOLT

15

01602-21236

WASHER,SPRING

16

20U-60-12111

PLATE

17

417-06-13630

PIN

18

04052-11664

PIN,COTTER

Выбрано товаров: 21