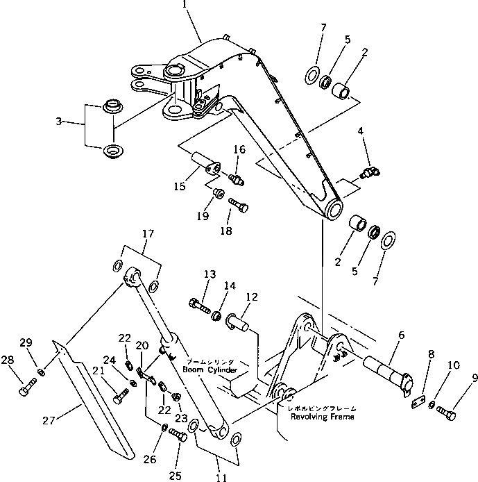
Запчасти Komatsu PC50UU-1 СТРЕЛА (/)¤ 1(№-) РАБОЧЕЕ ОБОРУДОВАНИЕ

Схема запчастей Komatsu PC50UU-1 - СТРЕЛА (/)¤ 1(№-) РАБОЧЕЕ ОБОРУДОВАНИЕ
FIT
1:1
100%

Артикул

Название

Примечание

Количество

|1

20U-70-00102

BOOM ASS'Y,FIRST

1

BOOM

2

201-70-21182

BUSHING

3

20U-70-11310

BUSHING

4

07020-00675

FITTING,GREASE

5

07145-00060

SEAL,DUST

6

20U-70-11160

SHAFT

7

20B-46-21180

PLATE¤ 1.0MM

|7

201-70-21290

SPACER¤ 1.0MM

8

20U-70-11330

PLATE

9

01010-51230

BOLT

10

01643-31232

WASHER

11

201-70-23140

SPACER¤ 1.0MM

12

20U-70-11192

PIN

13

01010-51635

BOLT

14

20T-70-41160

SPACER

15

20U-70-11361

PIN

16

07020-00000

FITTING,GREASE

17

201-70-23140

SPACER¤ 1.0MM

18

01010-51635

BOLT

19

20T-70-41160

SPACER

20

20U-70-11251

PLATE

21

01010-50816

BOLT

22

21X-70-11410

PAD

23

21X-70-11420

COLLAR

24

01643-30823

WASHER

25

01010-50612

BOLT

26

01643-30623

WASHER

27

20U-70-11272

COVER

28

01010-51020

BOLT

29

01643-31032

WASHER

Выбрано товаров: 31