Запчасти Komatsu PC50UU-1 ЦИЛИНДР РУКОЯТИ РАБОЧЕЕ ОБОРУДОВАНИЕ

Схема запчастей Komatsu PC50UU-1 - ЦИЛИНДР РУКОЯТИ РАБОЧЕЕ ОБОРУДОВАНИЕ
FIT
1:1
100%

Артикул

Название

Примечание

Количество

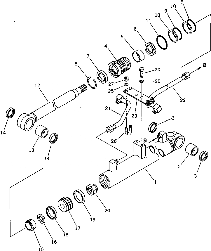
G-1

20U-63-X2021

ARM CYLINDER GROUP

G-1

20U-63-X2020

ARM CYLINDER GROUP

|1

20U-63-02021

CYLINDER ASS'Y

|1

20U-63-02020

CYLINDER ASS'Y

1

20U-63-66141

CYLINDER

|1

20U-63-66140

CYLINDER

2

07143-10505

BUSHING

3

07145-00050

SEAL,DUST

4

707-29-80481

HEAD,CYLINDER

5

07177-05530

BUSHING

6

707-51-55211

PACKING,ROD

7

707-56-55510

SEAL,DUST

8

07179-12069

RING,SNAP

9

07000-12075

O-RING

10

07146-02076

RING,BACK-UP

11

07000-02080

O-RING

12

20U-63-66120

ROD

13

07143-10505

BUSHING

14

07145-00050

SEAL,DUST

15

707-71-50690

PLUNGER

16

707-41-10250

WASHER

17

707-36-80370

PISTON

18

707-44-80180

RING,PISTON

|18

707-44-80080

RING,PISTON

19

07156-00810

RING,WEAR

20

07165-13638

NUT

21

20U-63-66170

TUBE

22

20U-63-66180

TUBE

23

707-88-94050

PLATE

24

01010-51020

BOLT

25

01643-31032

WASHER

26

07283-22236

CLIP

27

01599-01011

NUT

Выбрано товаров: 33