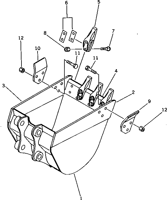
Запчасти Komatsu PC50UU-1 УСИЛ. КОВШ .8M (MINI .8M) ШИР. 8MM РАБОЧЕЕ ОБОРУДОВАНИЕ

Схема запчастей Komatsu PC50UU-1 - УСИЛ. КОВШ .8M (MINI .8M) ШИР. 8MM РАБОЧЕЕ ОБОРУДОВАНИЕ
FIT
1:1
100%

Артикул

Название

Примечание

Количество

|1

20U-70-00900

BUCKET ASS'Y

1

20U-70-13310

BUCKET,(567MM)

2

20U-70-13340

PLATE,L.H. (WELDED)

3

20U-70-13330

PLATE,R.H. (WELDED)

4

20U-70-13320

LIP (WELDED)

G-1

20U-70-X1480

TOOTH GROUP

5

103-70-22140

TOOTH

6

20U-70-05010

SHIM ASS'Y

|6

SHIM¤ 0.5MM

|6

SHIM¤ 1.0MM

7

113-70-22160

BOLT

8

113-70-22280

NUT

G-2

20U-70-X1490

SIDE CUTTER GROUP

9

20U-70-13240

CUTTER,L.H.

10

20U-70-13250

CUTTER,R.H.

11

01802-02265

BOLT

12

01803-02228

NUT

Выбрано товаров: 17