Запчасти Komatsu PC50UU-1 ЦИЛИНДР КОВША РАБОЧЕЕ ОБОРУДОВАНИЕ

Схема запчастей Komatsu PC50UU-1 - ЦИЛИНДР КОВША РАБОЧЕЕ ОБОРУДОВАНИЕ
FIT
1:1
100%

Артикул

Название

Примечание

Количество

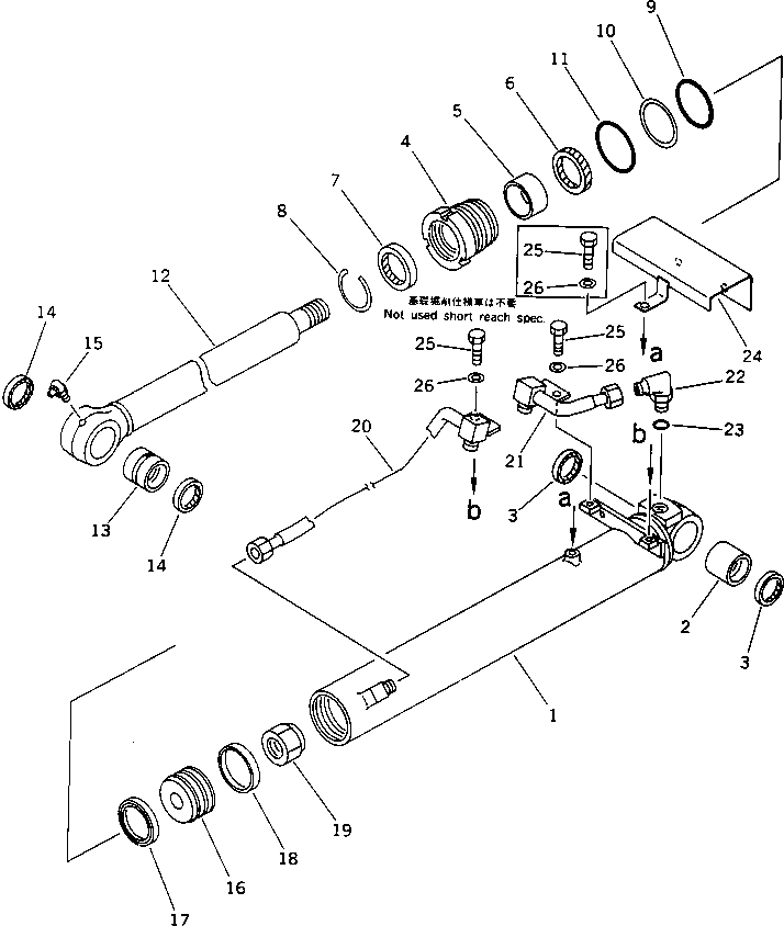
G-1

20U-63-X2030

BUCKET CYLINDER G.

|1

20U-63-02030

CYLINDER ASS'Y

1

20U-63-76140

CYLINDER

2

07143-10405

BUSHING

3

07145-00045

SEAL,DUST

4

707-29-80470

HEAD,CYLINDER

5

07177-05530

BUSHING

6

707-51-55211

PACKING,ROD

7

707-56-55510

SEAL,DUST

8

07179-12069

RING,SNAP

9

07000-12075

O-RING

10

07146-02076

RING,BACK-UP

11

07000-02080

O-RING

12

20U-63-76120

ROD

13

07144-10405

BUSHING

14

07145-00045

SEAL

15

07020-00900

FITTING,GREASE

16

707-36-80370

PISTON

17

707-44-80180

RING,PISTON

|17

707-44-80080

RING,PISTON

18

07156-00810

RING,WEAR

19

07165-13638

NUT

20

20U-63-76180

TUBE

21

20T-63-76581

TUBE

22

07235-10422

ELBOW

23

07002-12034

O-RING

24

707-88-11311

GUARD

25

01010-51020

BOLT

|25

01010-51020

BOLT,(FOR SHORT REACH SPEC.)

26

01643-31032

WASHER

|26

01643-31032

WASHER,(FOR SHORT REACH SPEC.)

Выбрано товаров: 31