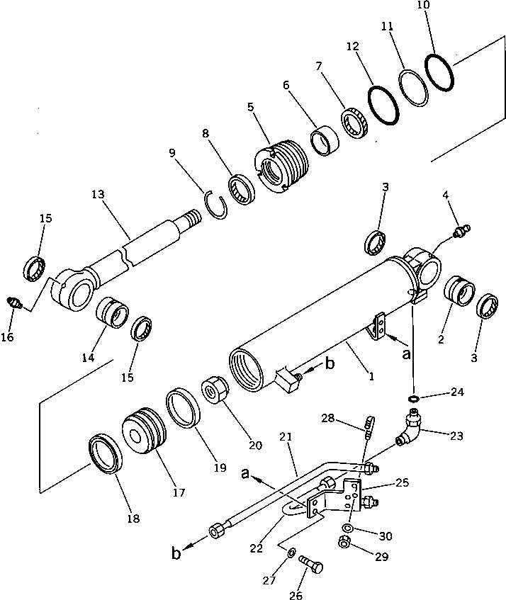
Запчасти Komatsu PC50UU-1 СТРЕЛА OFFSET ЦИЛИНДР РАБОЧЕЕ ОБОРУДОВАНИЕ

Схема запчастей Komatsu PC50UU-1 - СТРЕЛА OFFSET ЦИЛИНДР РАБОЧЕЕ ОБОРУДОВАНИЕ
FIT
1:1
100%

Артикул

Название

Примечание

Количество

G-1

20U-63-X2040

OFFSET CYLINDER G.

|1

20U-63-02040

CYLINDER ASS'Y

1

20U-63-86140

CYLINDER

2

07144-10505

BUSHING

3

07145-00050

SEAL,DUST

4

07020-00675

FITTING,GREASE

|4

07020-00000

FITTING,GREASE

5

707-29-10830

HEAD,CYLINDER

6

07177-05530

BUSHING

7

707-51-55211

PACKING,ROD

8

707-56-55510

SEAL,DUST

9

07179-12069

RING,SNAP

10

07000-12095

O-RING

11

07146-02096

RING,BACK-UP

12

07000-02100

O-RING

13

20U-63-86120

ROD

14

07144-10505

BUSHING

15

07145-00050

SEAL,DUST

16

07020-00000

FITTING,GREASE

17

707-36-10340

PISTON

18

707-44-10180

RING,PISTON

|18

707-44-10080

RING,PISTON

19

07156-01012

RING,WEAR

20

07165-13638

NUT

21

20U-63-86170

TUBE

22

20U-63-86180

TUBE

23

07235-10315

ELBOW

24

07002-12034

O-RING

25

707-88-92850

PLATE

26

01010-51025

BOLT

27

01643-31032

WASHER

28

07283-21529

CLIP

29

01598-00809

NUT

30

01643-30823

WASHER

Выбрано товаров: 34