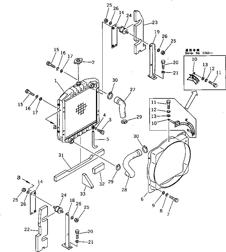
Запчасти Komatsu PC50UU-1 РАДИАТОР И ТРУБЫ КОМПОНЕНТЫ ДВИГАТЕЛЯ И ЭЛЕКТРИКА

Схема запчастей Komatsu PC50UU-1 - РАДИАТОР И ТРУБЫ КОМПОНЕНТЫ ДВИГАТЕЛЯ И ЭЛЕКТРИКА
FIT
1:1
100%

Артикул

Название

Примечание

Количество

1

20T-03-31110

CORE ASS'Y

2

201-03-51310

CAP

3

205-03-62660

PLUG

4

07000-01007

O-RING

5

07270-00827

TUBE

6

20T-03-31182

SHROUD

7

01010-50816

BOLT

8

01602-20825

WASHER,SPRING

9

01643-30823

WASHER

10

20U-03-11140

NET

|10

20T-03-31192

NET

11

01010-50816

BOLT

|11

01010-50816

BOLT

12

01602-20825

WASHER,SPRING

|12

01602-20825

WASHER,SPRING

13

01643-30823

WASHER

|13

01643-30823

WASHER

14

20U-03-11230

BRACKET

15

01010-50820

BOLT

16

01602-20825

WASHER,SPRING

17

01643-30823

WASHER

18

20T-03-31150

BRACKET

19

20U-03-11110

BRACKET

20

01010-51025

BOLT

21

01643-31032

WASHER

22

20U-03-11242

SHEET

23

20U-03-11250

SHEET

24

20S-03-11330

CUSHION

25

01580-11008

NUT

26

01643-31032

WASHER

27

20T-03-31161

HOSE

28

20T-03-31171

HOSE

29

207-09-11110

CLAMP

|29

07281-00489

CLAMP

30

207-09-11110

CLAMP

|30

07281-00549

CLAMP

31

20U-03-11270

SHEET

32

20U-03-11280

SHEET

33

20U-03-11290

SHEET

Выбрано товаров: 39