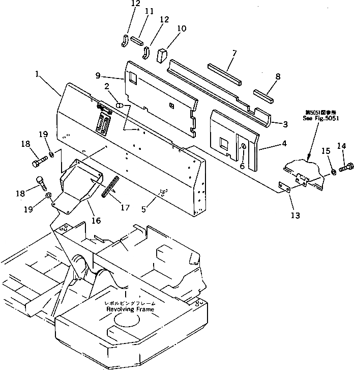
Запчасти Komatsu PC50UU-1 MACHINERY ОБСТАНОВКА (/) (ДЛЯ КАБИНЫ) ЧАСТИ КОРПУСА

Схема запчастей Komatsu PC50UU-1 - MACHINERY ОБСТАНОВКА (/) (ДЛЯ КАБИНЫ) ЧАСТИ КОРПУСА
FIT
1:1
100%

Артикул

Название

Примечание

Количество

|$0

20U-54-13472

COVER ASS'Y

|$1

20U-54-13471

COVER ASS'Y

|$2

20U-54-13470

COVER ASS'Y

1

COVER

2

07049-01012

PLUG

3

20U-54-11340

SHEET

4

20U-54-11331

SHEET

5

04431-11000

CLIP (WELDED)

6

04431-30000

PLATE

7

20U-54-11710

SHEET

8

20U-54-11720

SHEET

9

20U-54-11322

SHEET

10

20U-54-11250

SHEET

11

20T-54-31450

SEAL

12

20T-54-31460

SEAL

13

20T-54-31410

SHEET

14

01010-51025

BOLT

15

01643-31032

WASHER

16

20U-54-11520

PLATE

17

09412-00003

SEAL,WEATHER

18

01010-50816

BOLT

19

01643-30823

WASHER

Выбрано товаров: 22