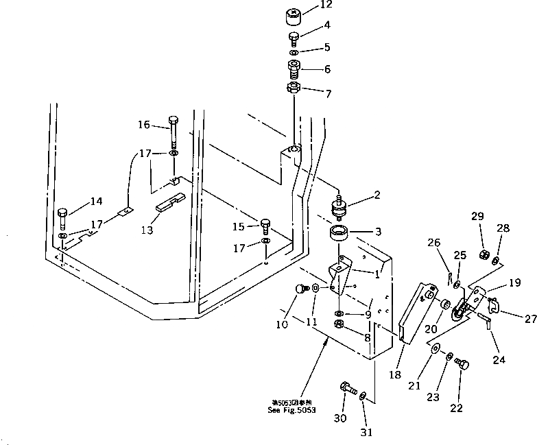
Запчасти Komatsu PC50UU-1 КАБИНА КРЕПЛЕНИЕ ЧАСТИ КОРПУСА

Схема запчастей Komatsu PC50UU-1 - КАБИНА КРЕПЛЕНИЕ ЧАСТИ КОРПУСА
FIT
1:1
100%

Артикул

Название

Примечание

Количество

1

20U-54-13331

BRACKET

2

20R-01-12111

CUSHION

3

20U-54-13541

STOPPER

3

20U-54-13540

STOPPER

3

21W-54-12210

STOPPER

4

21W-54-12150

BOLT

5

203-26-51240

WASHER

6

21W-54-12140

JOINT

7

21W-54-12240

NUT

8

01580-11210

NUT

9

01643-31232

WASHER

10

01010-51025

BOLT

11

01643-31032

WASHER

12

21W-54-14990

CAP

13

21W-54-14150

SHEET

14

01010-51045

BOLT

15

01010-51025

BOLT

16

01010-51085

BOLT

17

01643-31032

WASHER

|$19

20U-54-14201

BRACKET ASS'Y

|$20

20U-54-14200

BRACKET ASS'Y

18

20U-54-13382

BRACKET

18

20U-54-13381

BRACKET

19

20U-54-13351

BRACKET

19

20U-54-13350

BRACKET

20

195-61-34150

BEARING

21

20U-54-13361

PLATE

21

20U-54-13360

PLATE

22

01010-51020

BOLT

23

01643-31032

WASHER

24

20U-54-13371

PIN

24

20U-54-13370

PIN

25

01643-31032

WASHER

26

04050-13030

PIN,COTTER

27

21W-54-14921

BRACKET

27

21W-54-14920

BRACKET

28

01643-31032

WASHER

29

01580-11008

NUT

23

01010-51030

BOLT

31

01643-31032

WASHER

Выбрано товаров: 40