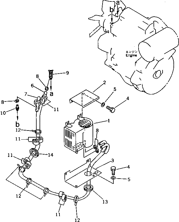
Запчасти Komatsu PC50UU-1 ОБОГРЕВАТЕЛЬ. ЧАСТИ КОРПУСА

Схема запчастей Komatsu PC50UU-1 - ОБОГРЕВАТЕЛЬ. ЧАСТИ КОРПУСА
FIT
1:1
100%

Артикул

Название

Примечание

Количество

1

20S-06-21460

HEATER ASS'Y

2

21X-977-1131

COVER

2

21W-977-1110

COVER

3

21X-54-13241

COVER

3

20U-977-1110

COVER

4

01010-51025

BOLT

5

01643-31032

WASHER

6

09483-00420

HOSE

7

09483-00419

HOSE

8

09480-10100

CLAMP

9

203-977-4130

VALVE

10

20T-54-42510

NIPPLE,(ENG NO.14049-)

10

20S-977-1170

ELBOW,(-ENG NO.14048)

11

202-981-1360

BUSHING

12

08034-00519

BAND

13

08037-05016

GROMMET

14

176-911-4160

GROMMET

Выбрано товаров: 0