Запчасти Komatsu PC50UU-1 МОТОР ХОДА (/)(№-9) УПРАВЛ-Е РАБОЧИМ ОБОРУДОВАНИЕМ

Схема запчастей Komatsu PC50UU-1 - МОТОР ХОДА (/)(№-9) УПРАВЛ-Е РАБОЧИМ ОБОРУДОВАНИЕМ
FIT
1:1
100%

Артикул

Название

Примечание

Количество

|$0

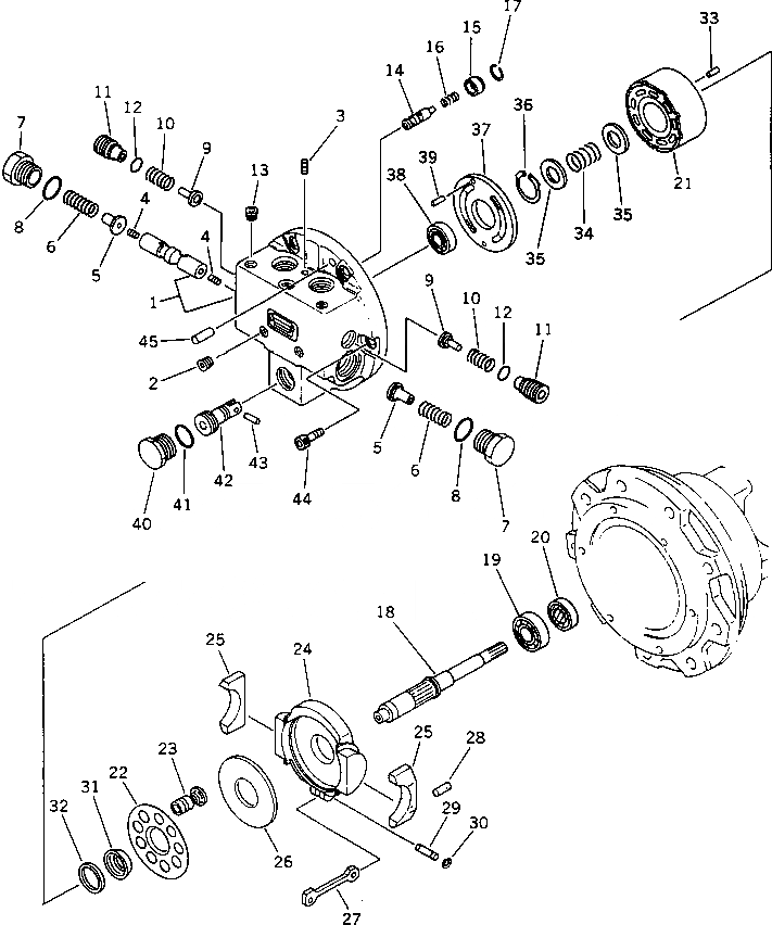
20U-60-12200

TRAVEL MOTOR ASS'Y

|$1

20U-60-12100

TRAVEL MOTOR ASS'Y

1

TZ300B211100-A

FLANGE KIT,REAR

2

TZGM1-8

PLUG

3

TZMB700-060

PLUG

4

TZ800A3008-00

ORIFICE

5

TZ326A205200-A

STOPPER

6

TZ300A2056-00

SPRING

7

TZ300A2051-00

PLUG

8

TZJB2401-P22-9

O-RING (K1)

9

TZ300A2054-00

VALVE

10

TZ300A2055-00

SPRING

11

TZ300A2053-00

PLUG

12

07000-12012

O-RING (K1)

13

TZGM1-4

PLUG

14

TZ300B2108-00

VALVE ASS'Y

15

TZ300B2039-00

STOPPER

16

TZ300B2043-01

SPRING

17

TZ300B2042-00

RING

18

TZ500B2002-00

SHAFT

19

06000-06203

BEARING,BALL

20

TZ15Z-17-35-8

SEAL,OIL (K1)

21

TZ550A2004-00

BLOCK,CYLINDER

22

TZ550A2007-00

PLATE,RETAINER

23

TZ300B2105-00

PISTON KIT (9 PIS)

24

TZ300B200300-B

PLATE,SWASH

25

TZ300B2033-00

GUIDE

26

TZ300B2032-00

PLATE,THRUST

27

TZ300B2036-00

ROD

28

TZ300B2017-00

PIN

29

TZ300B2040-00

PIN

30

TZJB2804-S6

RING,SNAP

31

TZ300A2008-00

BALL,THRUST

32

TZ550A2011-00

WASHER KIT (6 KINDS)

33

TZJB1354-2-12

PIN

34

TZ550A2014-00

SPRING

35

TZ300A2010-00

WASHER

36

TZIRTW-32

RING,SNAP

37

TZ550A2009-00

PLATE,TIMING

38

06000-06201

BEARING,BALL

39

TZJB1354-4-10

PIN

40

TZ300B2037-00

PLUG

41

07000-12020

O-RING (K1)

42

TZ300B2035-00

PISTON

43

TZ300B2041-00

PIN

44

01252-30820

BOLT

45

TZJB1354-8-16

PIN

Выбрано товаров: 47