Качественные детали и логистика
Оригинальные и аналоговые запчасти с доставкой по России, Казахстану и Беларуси
©2022 PartSell ООО "Система" ИНН 2463123282 ОГРН 1212400004838
Центральный офис: г. Красноярск, Академика Киренского, д.87, пом.4
Телефон: 8 (800) 777-65-74 Email: zakaz@partsell.ru
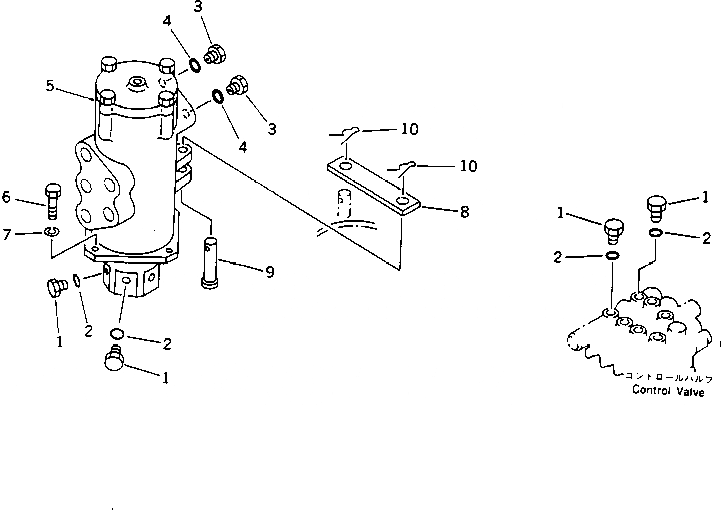
ГИДРОЛИНИЯ (ЦИЛИНДР ОТВАЛА ЛИНИЯ) (ДЛЯ КОРОТК. REACH СПЕЦ-Я.)(№-)
№
Артикул
Название
Примечание
Количество
1
07040-11812
PLUG
2
07002-11823
O-RING
3
07040-12012
4
07002-02034
5
703-08-13102
SWIVEL JOINT ASS'Y,(SEE FIG.6151)
6
01010-51230
BOLT
7
01602-21236
WASHER,SPRING
8
20U-60-12111
PLATE
9
417-06-13630
PIN
10
04052-11664
PIN,COTTER
Выбрано товаров: 0