Запчасти Komatsu PC50UU-1 ГИДРОЛИНИЯ (/) (ЦИЛИНДР ОТВАЛА ЛИНИЯ) (ШАССИ) (ДЛЯ НАКЛОНЯЕМ. МЕХАНИЧ. ПОВОРОТНЫЙ ОТВАЛ)(№-) УПРАВЛ-Е РАБОЧИМ ОБОРУДОВАНИЕМ

Схема запчастей Komatsu PC50UU-1 - ГИДРОЛИНИЯ (/) (ЦИЛИНДР ОТВАЛА ЛИНИЯ) (ШАССИ) (ДЛЯ НАКЛОНЯЕМ. МЕХАНИЧ. ПОВОРОТНЫЙ ОТВАЛ)(№-) УПРАВЛ-Е РАБОЧИМ ОБОРУДОВАНИЕМ
FIT
1:1
100%

Артикул

Название

Примечание

Количество

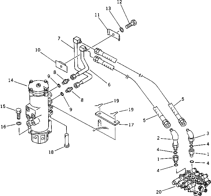
1

20U-62-11610

UNION

2

20T-62-61620

ELBOW

3

20S-62-21680

ELBOW

4

07002-11823

O-RING

5

07123-00308

HOSE

6

20U-910-1960

TUBE

7

20U-910-1950

TUBE

8

07230-10315

UNION

9

07002-02034

O-RING

10

20U-62-11590

PLATE

11

20U-62-11580

CLAMP

12

01010-51016

BOLT

13

01643-31032

WASHER

14

703-08-13140

SWIVEL JOINT ASS'Y,(SEE FIG.6153)

15

01010-51230

BOLT

16

01643-31232

WASHER

17

20U-60-12111

PLATE

18

417-06-13630

PIN

19

04052-11664

PIN,COTTER

20

709-34-12301

VALVE ASS'Y,(SEE FIG.6221)

Выбрано товаров: 0