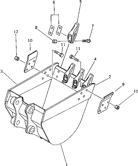
Запчасти Komatsu PC50UU-1 КОВШ .M (MINI .M) ШИР. 8MM(№-) РАБОЧЕЕ ОБОРУДОВАНИЕ

Схема запчастей Komatsu PC50UU-1 - КОВШ .M (MINI .M) ШИР. 8MM(№-) РАБОЧЕЕ ОБОРУДОВАНИЕ
FIT
1:1
100%

Артикул

Название

Примечание

Количество

|$0

20U-70-00702

BUCKET ASS'Y

1

20U-70-13113

BUCKET,(612MM)

2

20U-70-13140

PLATE,L.H. (WELDED)

3

20U-70-13150

PLATE,R.H. (WELDED)

4

20U-70-13121

LIP (WELDED)

G-1

20U-70-X1480

TOOTH GROUP

5

103-70-22140

TOOTH

6

20U-70-05010

SHIM ASS'Y

6

SHIM, 0.5MM

6

SHIM, 1.0MM

7

113-70-22160

BOLT

8

113-70-22280

NUT

G-2

20U-70-X1461

SIDE CUTTER GROUP

9

20U-70-13241

CUTTER,L.H.

10

20U-70-13251

CUTTER,R.H.

11

20U-70-13270

BOLT

12

203-32-51220

NUT

Выбрано товаров: 17