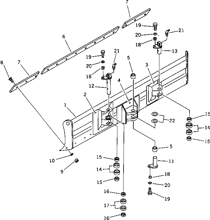
Запчасти Komatsu PC50UU-1 ОТВАЛ (ДЛЯ НАКЛОНЯЕМ. МЕХАНИЧ. ПОВОРОТНЫЙ ОТВАЛ)(№-) РАБОЧЕЕ ОБОРУДОВАНИЕ

Схема запчастей Komatsu PC50UU-1 - ОТВАЛ (ДЛЯ НАКЛОНЯЕМ. МЕХАНИЧ. ПОВОРОТНЫЙ ОТВАЛ)(№-) РАБОЧЕЕ ОБОРУДОВАНИЕ
FIT
1:1
100%

Артикул

Название

Примечание

Количество

|$0

20U-910-0010

BLADE ASS'Y

1

BLADE

2

20U-910-1131

BRACKET,L.H. (WELDED)

3

20U-910-1141

BRACKET,R.H. (WELDED)

4

20U-910-1151

BRACKET,CENTER (WELDED)

5

20U-910-1190

BUSHING

6

20T-71-22220

EDGE

7

20U-910-1980

EDGE

8

02090-10845

BOLT

9

02290-10813

NUT

10

01643-31445

WASHER

11

20U-910-1160

PIN

12

20U-910-1171

PIN

13

20U-910-1181

PIN

14

20U-910-1360

BUSHING

15

20U-910-1370

COLLAR

16

20U-910-1280

COLLAR

17

20U-910-1290

BUSHING

18

20S-70-31180

SPACER

19

01010-51230

BOLT

20

01643-31232

WASHER

21

07020-00675

FITTING,GREASE

22

20R-70-11270

SPACER, 1.0MM

Выбрано товаров: 23